Operation CHARM: Car repair manuals for everyone.
Manuals through 2025 now available!

Our trusted friends have launched a new website named LEMON, which has newer manuals. It also contains all the CHARM manuals.

LEMON is the spiritual successor to CHARM, I recommend you try it!

Link: lemon-manuals.la or lemon-manuals.org.ua

(Some people have issue connecting. LEMON is investigating. For now, use Firefox or change your DNS server)

Or, hide this message: temporarily or permanently

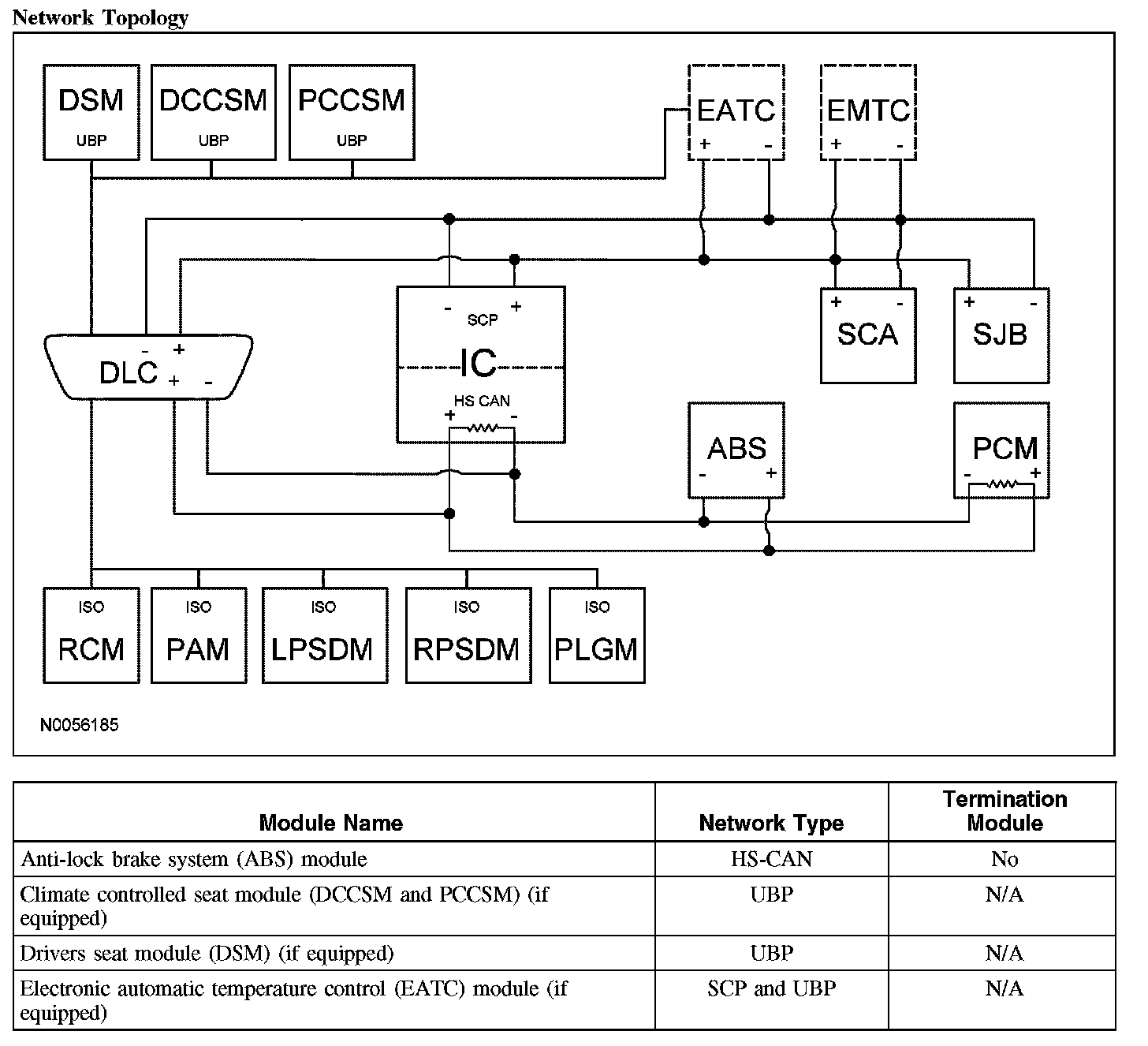
Information Bus: Description and Operation

COMMUNICATIONS NETWORK

Vehicle communication utilizes a high speed controller area network (HS-CAN), International Standards Organization (ISO) 9141 network, standard corporate protocol (SCP) network and universal asynchronous receiver/transmitter (UART) based protocol (UBP) network. Information is sent to and from individual control modules that each control specific functions. All 4 networks are connected to the data link connector (DLC). The DLC can be found under the instrument panel between the steering column and the audio unit.

The 4 module communication networks are:
- High speed (HS) CAN
- ISO 9141
- Standard corporate protocol (SCP)
- UART-based protocol (UBP)


Network Topology (Part 1):






Network Topology (Part 2):






ISO 9141 is for diagnostic use only while SCP, UBP and CAN allow multiple modules to communicate, or transfer data, with each other on a common network.

ISO 9141 Network Operation
The ISO 9141 communication network is a single wire network, used for diagnostic purposes only.

The ISO 9141 communication network is used for the following modules:
- Parking aid module
- Power liftgate module
- RPSDM & LPSDM
- RCM

Standard Corporate Protocol (SCP) Communication Network
The SCP network has an unshielded twisted pair cable, data bus (+) and data bus (-) circuits. in addition to scan tool communication, this network allows sharing of information between all modules on the network.

The SCP communication network is used for the following modules:
- Instrument cluster
- EATC (DATC)
- SJB
- Speed control actuator

UART-Based Protocol (UBP) Communication Network
The UBP communication network is a single wire network. in addition to scan tool communication, this network allows sharing of information between all modules on the network.

The UBP communication network is used for the following modules:
- Climate controlled seat module (driver and passenger)
- EATC (DATC)
- DSM

HS-CAN Network Operation
The HS-CAN network uses an unshielded twisted pair cable, data bus (+) and data bus (-) circuits. in addition to scan tool communication, this network allows sharing of information between all modules on the network.

The HS-CAN is a high speed communication network used for the following modules:
- ABS module
- Instrument cluster
- PCM

Network Termination
The CAN network uses a network termination circuit to improve communication reliability. The network termination of the CAN bus takes place inside the termination modules by termination resistors. Termination modules are located at either end of the bus network. As network messages are broadcast, in the form of voltage signals, the network voltage signals are stabilized by the termination resistors. Each termination module has a 120 ohm resistor across the positive and negative bus connection in the termination module. With two termination modules on each network, and the 120 ohm resistors located in a parallel circuit configuration, the total network impedance, or total resistance is 60 ohms.

Network termination improves bus message reliability by:
- stabilizing bus voltage.
- eliminating electrical interference.

Gateway Module
The instrument cluster is the gateway module, translating HS-CAN to SCP and vice versa. This information allows a message to be distributed throughout both networks. The instrument cluster is the only module on this vehicle that has this ability.