Operation CHARM: Car repair manuals for everyone.
Manuals through 2025 now available!

Our trusted friends have launched a new website named LEMON, which has newer manuals. It also contains all the CHARM manuals.

LEMON is the spiritual successor to CHARM, I recommend you try it!

Link: lemon-manuals.la or lemon-manuals.org.ua

(Some people have issue connecting. LEMON is investigating. For now, use Firefox or change your DNS server)

Or, hide this message: temporarily or permanently

Procedures

WINDSHIELD RESEAL


Material:






Material

1. Remove the cowl panel grille.







2. Position the LH and RH weatherstrips aside.







3. Remove the LH and RH windshield side garnish moldings.







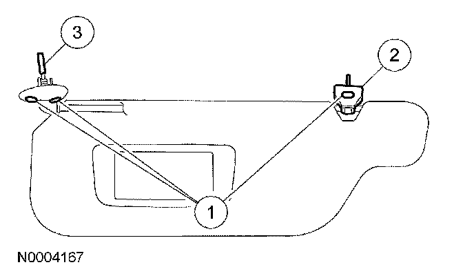
4. Remove the LH and RH sun visors.
1 Remove the screws.
2 Remove the clips.
3 Disconnect the electrical connectors.

5. If equipped, remove the overhead console.







6. Open the assist handle screw covers.
7. Remove the assist handle screws and the assist handle.
8. Lower the front portion of the headliner and block with a suitable material.
9. Clean the interior and exterior of the windshield glass surface with a non-alcohol based window cleaner.







10. Cut the urethane adhesive applicator tip to 6 mm (0.24 in).

11. NOTE:
- Use either a high-ratio, electric or battery-operated caulk gun that will apply the urethane with less effort and continuous bead.
- Make sure that all gaps in the urethane adhesive are smoothed into one continuous bead.

Apply urethane adhesive over top of the existing urethane adhesive.
- Apply the urethane to the top and sides of the windshield from the interior of the vehicle.
- Apply the urethane to the bottom of the windshield from the exterior of the vehicle.

12. CAUTION: The urethane adhesive must cure for a minimum of one hour before testing for air or water leaks.

After the urethane has cured, check the windshield seal for air or water leaks through the urethane bead and add urethane adhesive as necessary.

13. Position the front portion of the headliner.







14. Position the LH and RH assist handles and install the screws.







15. Close the assist handle screw covers.
16. If equipped, install the overhead console.







17. Install the LH and RH sun visors.
1 Connect the electrical connectors.
2 Install the clips.
3 Install the screws.







18. Install the LH and RH windshield side garnish moldings.







19. Install the LH and RH weatherstrips.
20. Install the cowl panel grille.
21. Clean the interior and exterior windshield glass with a non-alcohol based window cleaner.