Operation CHARM: Car repair manuals for everyone.
Manuals through 2025 now available!

Our trusted friends have launched a new website named LEMON, which has newer manuals. It also contains all the CHARM manuals.

LEMON is the spiritual successor to CHARM, I recommend you try it!

Link: lemon-manuals.la or lemon-manuals.org.ua

(Some people have issue connecting. LEMON is investigating. For now, use Firefox or change your DNS server)

Or, hide this message: temporarily or permanently

Cylinder Head Assembly

Cylinder Head Surface

NOTE: Use a straight edge that is calibrated by the manufacturer to be flat with 0.005 mm (0.0002 inch) per running foot length. For example, if the straight edge is 61 cm (24 inch) long, the machined edge must be flat with 0.010 mm (0.0004 inch) from end to end.

Intake Manifold Bolts






Stage 1: Tighten to 2 Nm (18 inch lbs.).
Stage 2: Tighten to 10 Nm (89 inch lbs.).

LH Camshaft Bearing Cap Bolts






Tighten to 10 Nm (89 inch lbs.).

RH Camshaft Bearing Cap Bolts






Tighten to 10 Nm (89 inch lbs.).

Camshaft Phaser Sprocket Bolts

Using the special tool, tighten the LH and RH camshaft phaser sprocket bolts in 2 stages.
Stage 1: Tighten to 40 Nm (30 ft. lbs.).
Stage 2: Tighten an additional 90 degrees.

RH Cylinder Head






CAUTION: The cylinder head bolts must be discarded and new bolts installed. They are tighten-to-yield designed and cannot be reused.

Tighten the RH cylinder head bolts in 3 stages, in the sequence shown.
Stage 1: Tighten to 40 Nm (30 ft. lbs.).
Stage 2: Tighten an additional 90 degrees.
Stage 3: Tighten an additional 90 degrees.

LH Cylinder Head






CAUTION: The cylinder head bolts must be discarded and new bolts installed. They are tighten-to-yield designed and cannot be reused.

Tighten the LH cylinder head bolts in 3 stages, in the sequence shown.
Stage 1: Tighten to 40 Nm (30 ft. lbs.).
Stage 2: Tighten an additional 90 degrees.
Stage 3: Tighten an additional 90 degrees.

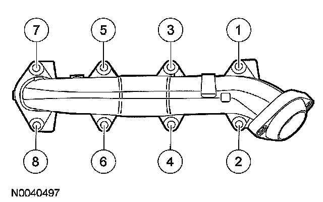
LH Exhaust Manifold






Tighten the nuts in the sequence shown.
Tighten to 25 Nm (18 ft. lbs.).

RH Exhaust Manifold






Tighten the nuts in the sequence shown.
Tighten to 25 Nm (18 ft. lbs.).