Operation CHARM: Car repair manuals for everyone.
Manuals through 2025 now available!

Our trusted friends have launched a new website named LEMON, which has newer manuals. It also contains all the CHARM manuals.

LEMON is the spiritual successor to CHARM, I recommend you try it!

Link: lemon-manuals.la or lemon-manuals.org.ua

(Some people have issue connecting. LEMON is investigating. For now, use Firefox or change your DNS server)

Or, hide this message: temporarily or permanently

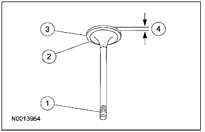
Valve Inspection

Valve Inspection
1. Inspect the following valve areas:
1. The end of the stem for grooves or scoring.
2. The valve face and the edge for pits, grooves or scores.
3. The valve head for signs of burning, erosion, warpage and cracking.
4. The valve margin for wear.