Operation CHARM: Car repair manuals for everyone.
Manuals through 2025 now available!

Our trusted friends have launched a new website named LEMON, which has newer manuals. It also contains all the CHARM manuals.

LEMON is the spiritual successor to CHARM, I recommend you try it!

Link: lemon-manuals.la or lemon-manuals.org.ua

(Some people have issue connecting. LEMON is investigating. For now, use Firefox or change your DNS server)

Or, hide this message: temporarily or permanently

Installation




Transaxle









Installation

NOTE: If the transaxle was overhauled, or if installing a new transaxle and the transmission fluid cooler has not been flushed, flush the transmission fluid cooler at this time. For additional information, refer to Transmission Fluid Cooler - Backflushing and Cleaning Transmission Fluid Cooler Backflushing and Cleaning.

1. Make sure that the torque converter is installed correctly.

2. NOTE: Lubricate the torque converter pilot hub with multi-purpose grease.

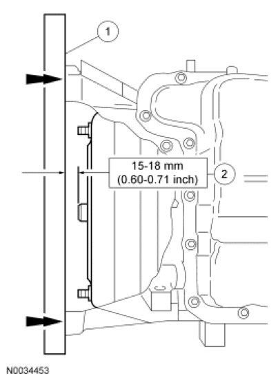
Check the installation depth of the torque converter.

1. Lay a steel straightedge on the automatic transaxle flange.

2. Check the installation depth between the transaxle flange and the torque converter centering spigot for the correct clearance.





3. Using a transmission jack, secure the transaxle using a safety strap.

4. Remove the Torque Converter Retainer.





5. NOTE: Make sure that the dowel pins are installed in the engine block prior to installing the transaxle.

Move the transaxle into position.

6. NOTE: Note the location of the different length bolts.

Install the 3 front torque converter housing bolts.

- Tighten to 47 Nm (35 lb-ft).





7. Install the 3 rear torque converter housing bolts.
- Tighten to 47 Nm (35 lb-ft).





8. Remove the transmission jack.

9. Install the bracket and the nut on the torque converter housing studbolt.
- Tighten to 25 Nm (18 lb-ft).





10. NOTICE: Rotate the engine in a clockwise direction only or engine damage will occur.

NOTE: Install new self-locking nuts only.

Install new torque converter nuts.

- Tighten to 37 Nm (27 lb-ft).





11. Connect the transmission fluid cooler hoses to the transaxle.





12. Position the starter in place and install the 2 bolts.
- Tighten to 35 Nm (26 lb-ft).





13. Install the wiring harness fastener on the starter stud.





14. Install the starter electrical connectors and install the boot back into position.

1. Tighten to 12 Nm (106 lb-in).

2. Tighten to 5 Nm (44 lb-in).





15. Position the subframe in place using a suitable powertrain lift.

16. NOTE: LH shown, RH similar.

Install the front subframe nuts.

- Tighten to 150 Nm (111 lb-ft).





17. Position the subframe support brackets in place and loosely install the bolts.





18. Install the rear subframe nuts.
- Tighten to 150 Nm (111 lb-ft).





19. Tighten the subframe support bracket bolts.
- Tighten to 103 Nm (76 lb-ft).





20. Install the LH halfshaft.

21. Install the RH halfshaft.

22. NOTE: LH shown, RH similar.

Install the sway bar links and nuts to the front struts.

- Tighten to 40 Nm (30 lb-ft).





23. Position the steering gear in place and install the 2 LH and RH bolts.
- Tighten to 107 Nm (79 lb-ft).





24. Install the RH power steering tube bracket bolt.
- Tighten to 9 Nm (80 lb-in).





25. Install the 2 LH power steering tube bracket bolts.
- Tighten to 9 Nm (80 lb-in).





26. Install the LH power steering tube bracket bolt.
- Tighten to 9 Nm (80 lb-in).





27. Position the LH front structure-to-subframe splash shield in place and install the 6 pin-type retainers.





28. Position the LH splash shield in place and install the 4 screws.





29. Position the RH front structure-to-subframe splash shield in place and install the 6 pin-type retainers.





30. Position the RH splash shield in place and install the 4 screws.





31. Connect the Output Shaft Speed (OSS) sensor electrical connector.





32. Connect the pressure switch electrical connector.





33. Position the transaxle support insulator bracket in place and install the 3 nuts.
- Tighten to 80 Nm (59 lb-ft).





34. Raise the transaxle using the Engine Support Bar and install the 2 transaxle support insulator bracket bolts.
- Tighten to 62 Nm (46 lb-ft).





35. Install the 2 roll restrictor bracket bolts.
- Tighten to 90 Nm (66 lb-ft).





36. Remove the Engine Support Bar.





37. Install the 3 top torque converter housing bolts.
- Tighten to 47 Nm (35 lb-ft).





38. Install the ground strap.
- Tighten to 25 Nm (18 lb-ft).





39. Connect the Turbine Shaft Speed (TSS) sensor, intermediate shaft speed sensor and the 5th gear valve body electrical connectors.





40. Connect the main valve body and the Transmission Range (TR) sensor electrical connectors and connect the wiring harness to the transmission.





41. Position the selector lever cable and bracket in place, and connect the electrical harness fastener and install the 2 bolts.
- Tighten to 20 Nm (177 lb-in).





42. Connect the selector lever cable end to the manual control lever.





43. Install the battery tray.

1. Position the battery tray in place and install the battery tray bolt.
- Tighten to 9 Nm (80 lb-in).

2. Connect the 3 wiring harness retainers.

3. Install the battery tray nut.
- Tighten to 9 Nm (80 lb-in).

4. Connect the positive battery cable fastener to the battery tray.





44. NOTE: When the battery has been disconnected and reconnected, some abnormal drive symptoms may occur while the vehicle relearns its adaptive strategy. The vehicle may need to be driven to relearn the strategy.

Install the battery.

45. Fill the transaxle with clean transmission fluid.