Operation CHARM: Car repair manuals for everyone.
Manuals through 2025 now available!

Our trusted friends have launched a new website named LEMON, which has newer manuals. It also contains all the CHARM manuals.

LEMON is the spiritual successor to CHARM, I recommend you try it!

Link: lemon-manuals.la or lemon-manuals.org.ua

(Some people have issue connecting. LEMON is investigating. For now, use Firefox or change your DNS server)

Or, hide this message: temporarily or permanently

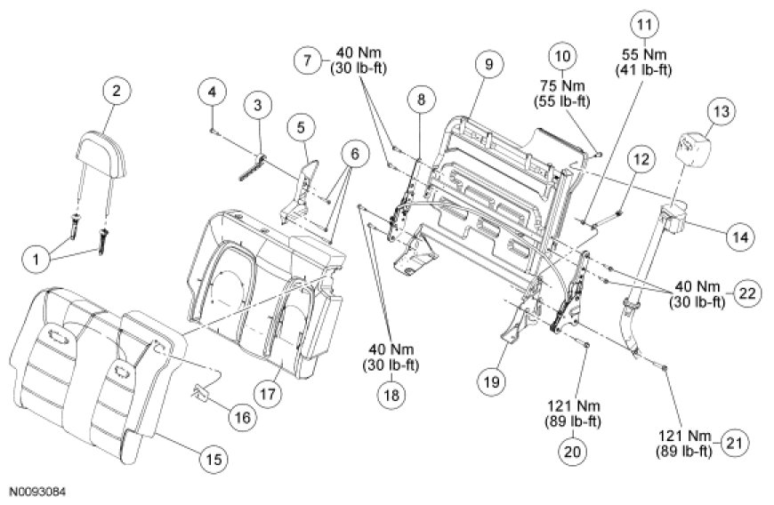
Seat - Exploded View, Second Row




Seat - Exploded View, Second Row

60 Percent E-Z Entry Backrest










60 Percent, E-Z Entry Cushion














40 Percent E-Z Entry Backrest










40 Percent, E-Z Entry Cushion














Bucket, Backrest










Bucket, Cushion










Explorer/Mountaineer, 60 Percent Bench, Backrest










Explorer Sport Trac, 60 Percent Bench, Backrest










Second Row, 60 Percent Bench, Cushion










Second Row, 40 Percent Bench, Backrest










Second Row, 40 Percent Bench, Cushion









1. For additional information, refer to the procedures.