Operation CHARM: Car repair manuals for everyone.
Manuals through 2025 now available!

Our trusted friends have launched a new website named LEMON, which has newer manuals. It also contains all the CHARM manuals.

LEMON is the spiritual successor to CHARM, I recommend you try it!

Link: lemon-manuals.la or lemon-manuals.org.ua

(Some people have issue connecting. LEMON is investigating. For now, use Firefox or change your DNS server)

Or, hide this message: temporarily or permanently

En-Ma


Engine Control Components

Note: Transmission inputs which are not described in this section, are discussed in the Transmission and Drivetrain section.

Engine Coolant Temperature (ECT) Sensor

The ECT sensor is a thermistor device in which resistance changes with temperature. The electrical resistance of a thermistor decreases as the temperature increases, and the resistance increases as the temperature decreases. The varying resistance changes the voltage drop across the sensor terminals and provides electrical signals to the PCM corresponding to temperature.

Thermistor-type sensors are considered passive sensors. A passive sensor is connected to a voltage divider network so that varying the resistance of the passive sensor causes a variation in total current flow. Voltage that is dropped across a fixed resistor in a series with the sensor resistor determines the voltage signal at the PCM. This voltage signal is equal to the reference voltage minus the voltage drop across the fixed resistor.

The ECT measures the temperature of the engine coolant. The PCM uses the ECT input for fuel control and for cooling fan control. There are three types of ECT sensors, threaded, push-in, and twist-lock. The ECT sensor is located in an engine coolant passage.

Typical Thread Type ECT Sensor:




Typical Thread Type ECT Sensor

Engine Oil Temperature (EOT) Sensor

The EOT sensor is a thermistor device in which resistance changes with temperature. The electrical resistance of a thermistor decreases as the temperature increases and the resistance increases as the temperature decreases. The varying resistance changes the voltage drop across the sensor terminals and provides electrical signals to the PCM corresponding to temperature.

Thermistor-type sensors are considered passive sensors. A passive sensor is connected to a voltage divider network so that varying the resistance of the passive sensor causes a variation in total current flow. Voltage that is dropped across a fixed resistor in a series with the sensor resistor determines the voltage signal at the PCM. This voltage signal is equal to the reference voltage minus the voltage drop across the fixed resistor.

The EOT sensor measures the temperature of the engine oil. The sensor is typically threaded into the engine oil lubrication system. The PCM can use the EOT sensor input to determine the following:

- On variable camshaft timing (VCT) applications the EOT input is used to adjust the VCT control gains and logic for camshaft timing.

- The PCM can use EOT sensor input in conjunction with other PCM inputs to determine oil degradation.

- The PCM can use EOT sensor input to initiate a soft engine shutdown. To prevent engine damage from occurring as a result of high oil temperatures, the PCM has the ability to initiate a soft engine shutdown. Whenever engine RPM exceeds a calibrated level for a certain period of time, the PCM begins reducing power by disabling engine cylinders.

Typical EOT Sensor:




Typical EOT Sensor

Evaporative Emission (EVAP) Canister Purge Valve

The EVAP canister purge valve is part of the enhanced EVAP system that is controlled by the PCM. This valve controls the flow of vapors (purging) from the EVAP canister to the intake manifold during various engine operating modes. The EVAP canister purge valve is a normally closed valve. The EVAP canister purge valve controls the flow of vapors by way of a solenoid, eliminating the need for an electronic vacuum regulator and vacuum diaphragm. For E-Series, Escape/Mariner, Expedition, F-Series, and Navigator, the PCM outputs a duty cycle between 0% and 100% to control the EVAP canister purge valve. For all others, the PCM outputs a variable current between 0 mA and 1,000 mA to control the EVAP canister purge valve.

Typical EVAP Canister Purge Valve

Typical EVAP Canister Purge Valve (Part 1):





Typical EVAP Canister Purge Valve (Part 2):






Exhaust Gas Recirculation (EGR) Orifice Tube Assembly

The orifice tube assembly is a section of tubing connecting the exhaust system to the intake manifold. The assembly provides the flow path for the EGR to the intake manifold and also contains the metering orifice and two pressure pick-up tubes. The internal metering orifice creates a measurable pressure drop across it as the EGR valve opens and closes. This pressure differential across the orifice is picked up by the differential pressure feedback EGR sensor which provides feedback to the PCM.

EGR Orifice Tube Assembly:




EGR Orifice Tube Assembly

Exhaust Gas Recirculation (EGR) System Module (ESM)

The ESM is an integrated differential pressure feedback EGR system that functions in the same manner as a conventional differential pressure feedback EGR system. The various system components have been integrated into a single component called the ESM. The flange of the valve portion of the ESM bolts directly to the intake manifold with a metal gasket that forms the metering orifice. This arrangement increases system reliability, response time, and system precision. By relocating the EGR orifice from the exhaust to the intake side of the EGR valve, the downstream pressure signal measures manifold absolute pressure (MAP). This MAP signal is used for EGR correction and inferred barometric pressure (BARO) at ignition on. The system provides the PCM with a differential pressure feedback EGR signal, identical to a traditional differential pressure feedback EGR system.

ESM

ESM (Part 1):





ESM (Part 2):






Exhaust Gas Recirculation (EGR) Vacuum Regulator Solenoid

The EGR vacuum regulator solenoid is an electromagnetic device used to regulate the vacuum supply to the EGR valve. The solenoid contains a coil which magnetically controls the position of a disc to regulate the vacuum. As the duty cycle to the coil increases, the vacuum signal passed through the solenoid to the EGR valve also increases. Vacuum not directed to the EGR valve is vented through the solenoid vent to atmosphere. Note that at 0% duty cycle (no electrical signal applied), the EGR vacuum regulator solenoid allows some vacuum to pass, but not enough to open the EGR valve.

EGR Vacuum Regulator Solenoid:




EGR Vacuum Regulator Solenoid

EGR Vacuum Regulator Solenoid Duty Cycle Graph:





EGR Vacuum Regulator Solenoid Data:





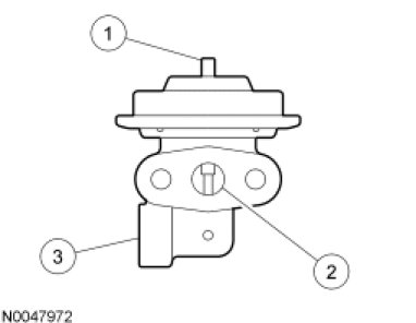
Exhaust Gas Recirculation (EGR) Valve

The EGR valve in the differential pressure feedback EGR system is a conventional, vacuum-actuated valve. The valve increases or decreases the flow of EGR. As vacuum applied to the EGR valve diaphragm overcomes the spring force, the valve begins to open. As the vacuum signal weakens, at 5.4 kPa (1.6 in-Hg) or less, the spring force closes the valve. The EGR valve is fully open at about 15 kPa (4.5 in-Hg).

Since EGR flow requirement varies greatly, providing repair specifications on flow rate is impractical. The on board diagnostic (OBD) system monitors the EGR valve function and triggers a diagnostic trouble code (DTC) if the test criteria is not met. The EGR valve flow rate is not measured directly as part of the diagnostic procedures.

Typical EGR Valve

Typical EGR Valve (Part 1):





Typical EGR Valve (Part 2):






EGR Flow Rate Graph:





Fan Control

The PCM monitors certain parameters (such as engine coolant temperature, vehicle speed, A/C on/off status, A/C pressure) to determine engine cooling fan needs.

For variable speed electric fan(s):

The PCM controls the fan speed and operation using a duty cycle output on the fan control variable (FCV) circuit. The fan controller (located at or integral to the engine cooling fan assembly) receives the FCV command and operates the cooling fan at the speed requested (by varying the power applied to the fan motor).

FCV Duty Cycle Output From PCM (Negative Duty Cycle):





For relay controlled fans:

The PCM controls the fan operation through the fan control (FC), (single speed fan applications), low fan control (LFC), medium fan control (MFC), and high fan control (HFC) outputs. Some applications will have the xFC circuit wired to 2 separate relays.

For 3-speed fans, although the PCM output circuits are called low, medium, and high fan control cooling fan speed is controlled by a combination of these outputs. Refer to the following table.

2.0L Focus (with A/C): PCM FC Output State For Cooling Fan Speeds:





2.5L Escape: PCM FC Output State For Cooling Fan Speeds:





Fan Speed Sensor (FSS)

The FSS is a Hall-effect sensor that measures the cooling fan clutch speed by generating a waveform with a frequency proportional to the fan speed. If the cooling fan clutch is moving at a relatively low speed, the sensor produces a signal with a low frequency. As the cooling fan clutch speed increases, the sensor generates a signal with a higher frequency. The PCM uses the frequency signal generated by the FSS as a feedback for closed loop control of the cooling fan clutch. For additional information on the cooling fan clutch, refer to the Cooling Fan Clutch.

Cooling Fan Clutch with FSS:




Cooling Fan Clutch with FSS

Fuel Injectors

Note: Do not apply battery positive voltage (B+) directly to the fuel injector electrical connector terminals. The solenoids may be damaged internally in a matter of seconds.

The fuel injector is a solenoid-operated valve that meters fuel flow to the engine. The fuel injector is opened and closed a constant number of times per crankshaft revolution. The amount of fuel is controlled by the length of time the fuel injector is held open.

The fuel injector is normally closed, and is operated by a 12-volt source from either the electronic engine control (EEC) power relay or fuel pump relay. The ground signal is controlled by the PCM.

The injector is the deposit resistant injector (DRI) type and does not have to be cleaned. Install a new fuel injector if the flow is checked and found to be out of specification.

Typical Fuel Injector

Typical Fuel Injector (Part 1):





Typical Fuel Injector (Part 2):






Fuel Level Input (FLI)

The FLI is a communications network message. Most vehicle applications use a potentiometer type FLI sensor connected to a float in the FP module to determine fuel level.

Fuel Pump (FP) Module

The FP module is a device that contains the fuel pump and sender assembly. The fuel pump is located inside the FP module reservoir and supplies fuel through the FP module manifold to the engine and FP module jet pump. The jet pump continuously refills the reservoir with fuel, and a check valve located in the manifold outlet maintains system pressure when the fuel pump is not energized. A flapper valve located in the bottom of the reservoir allows fuel to enter the reservoir and prime the fuel pump during the initial fill.

Typical Electronic Returnless Fuel Pump (FP) Module

Typical Electronic Returnless Fuel Pump (FP) Module:




Typical Electronic Returnless Fuel Pump (FP) Module

Typical Mechanical Returnless Fuel Pump (FP) Module:




Typical Mechanical Returnless Fuel Pump (FP) Module

Fuel Pump (FP) Module and Reservoir

The FP module is mounted inside the fuel tank in a reservoir. The pump has a discharge check valve that maintains the system pressure after the ignition has been turned off to minimize starting concerns. The reservoir prevents fuel flow interruptions during extreme vehicle maneuvers with low tank fill levels.

Fuel Rail Pressure Temperature (FRPT) Sensor

The FRPT sensor measures the pressure and temperature of the fuel in the fuel rail and sends these signals to the PCM. The sensor uses the intake manifold vacuum as a reference to determine the pressure difference between the fuel rail and the intake manifold. The relationship between fuel pressure and fuel temperature is used to determine the possible presence of fuel vapor in the fuel rail.

The temperature sensing portion of the FRPT sensor is a thermistor device in which resistance changes with temperature. The electrical resistance of the thermistor decreases as the temperature increases, and the resistance increases as the temperature decreases. The varying resistance changes the voltage drop across the sensor terminals and provides electrical signals to the PCM corresponding to temperature.

Both the pressure and temperature signals are used to control the speed of the fuel pump. The speed of the fuel pump sustains fuel rail pressure which preserves fuel in its liquid state. The dynamic range of the fuel injectors increase because of the higher rail pressure, which allows the injector pulse width to decrease.

Typical Fuel Rail Pressure Temperature (FRPT) Sensor:




Typical Fuel Rail Pressure Temperature (FRPT) Sensor

Fuel Tank Pressure (FTP) Sensor

The FTP sensor or in-line FTP sensor is used to measure the fuel tank pressure.

Fuel Tank Pressure (FTP) Sensor:




Fuel Tank Pressure (FTP) Sensor

In-line Fuel Tank Pressure (FTP) Sensor:




In-line Fuel Tank Pressure (FTP) Sensor

Heated Oxygen Sensor (HO2S)

The HO2S detects the presence of oxygen in the exhaust and produces a variable voltage according to the amount of oxygen detected. A high concentration of oxygen (lean air/fuel ratio) in the exhaust produces a voltage signal less than 0.4 volt. A low concentration of oxygen (rich air/fuel ratio) produces a voltage signal greater than 0.6 volt. The HO2S provides feedback to the PCM indicating air/fuel ratio in order to achieve a near stoichiometric air/fuel ratio of 14.7:1 during closed loop engine operation. The HO2S generates a voltage between 0.0 and 1.1 volts.

Embedded with the sensing element is the HO2S heater. The heating element heats the sensor to a temperature of 800°C (1,472°F). At approximately 300°C (572°F) the engine can enter closed loop operation. The VPWR circuit supplies voltage to the heater. The PCM turns the heater on by providing the ground when the correct conditions occur. The heater allows the engine to enter closed loop operation sooner. The use of this heater requires the HO2S heater control to be duty cycled, to prevent damage to the heater.

Typical Heated Oxygen Sensor (HO2S):




Typical Heated Oxygen Sensor (HO2S)

Idle Air Control (IAC) Valve

Note: The IAC valve assembly is not adjustable and cannot be cleaned, also some IAC valves are normally open and others are normally closed. Some IAC valves require engine vacuum to operate.

The IAC valve assembly controls the engine idle speed and provides a dashpot function. The IAC valve assembly meters intake air around the throttle plate through a bypass within the IAC valve assembly and throttle body. The PCM determines the desired idle speed or bypass air and signals the IAC valve assembly through a specified duty cycle. The IAC valve responds by positioning the IAC valve to control the amount of bypassed air. The PCM monitors engine RPM and increases or decreases the IAC duty cycle in order to achieve the desired RPM.

The PCM uses the IAC valve assembly to control:

- no touch start

- cold engine fast idle for rapid warm-up

- idle (corrects for engine load)

- stumble or stalling on deceleration (provides a dashpot function)

- over-temperature idle boost

Inertia Fuel Shut-off (IFS) Switch

The IFS switch is used in conjunction with the electric fuel pump. The purpose of the IFS switch is to shut off the fuel pump if a collision occurs. It consists of a steel cone held in place by a magnet. When a sharp impact occurs, the cone breaks loose from the magnet, rolls up a conical ramp and strikes a target plate which opens the electrical contacts of the switch and shuts off the electric fuel pump. Once the switch is open, it must be manually reset before restarting the vehicle. Refer to the Owner's Literature, Roadside Emergencies for the location of the IFS switch.

Typical Inertia Fuel Shut-off (IFS) Switch:




Typical Inertia Fuel Shut-off (IFS) Switch

Intake Air Temperature (IAT) Sensor

The IAT sensor is a thermistor device in which resistance changes with temperature. The electrical resistance of a thermistor decreases as the temperature increases, and the resistance increases as the temperature decreases. The varying resistance affects the voltage drop across the sensor terminals and provides electrical signals to the PCM corresponding to temperature.

Thermistor-type sensors are considered passive sensors. A passive sensor is connected to a voltage divider network so that varying the resistance of the passive sensor causes a variation in total current flow. Voltage that is dropped across a fixed resistor in a series with the sensor resistor determines the voltage signal at the PCM. This voltage signal is equal to the reference voltage minus the voltage drop across the fixed resistor.

The IAT sensor provides air temperature information to the PCM. The PCM uses the air temperature information as a correction factor in the calculation of fuel, spark, and air flow.

The IAT sensor provides a quicker temperature change response time than the ECT or CHT sensor.

Currently there are two types of IAT sensors used, a stand-alone/non-integrated type and a integrated type. Both types function the same, however the integrated type is incorporated into the mass air flow (MAF) sensor instead of being a stand alone sensor.

Supercharged vehicles use two IAT sensors. Both sensors are thermistor type devices and operate as described above. One is located before the supercharger at the air cleaner for standard OBD/cold weather input, while a second sensor (IAT2) is located after the supercharger in the intake manifold. The IAT2 sensor located after the supercharger provides air temperature information to the PCM to control spark and to help determine charge air cooler (CAC) efficiency.

Typical Stand-Alone/Non-Integrated Intake Air Temperature (IAT) Sensors:




Typical Stand-Alone/Non-Integrated Intake Air Temperature (IAT) Sensors

Typical Integrated Intake Air Temperature (IAT) Sensor Incorporated Into a Drop-in or Flange-type MAF Sensor:




Typical Integrated Intake Air Temperature (IAT) Sensor Incorporated Into a Drop-in or Flange-type MAF sensor

Intake Manifold Tuning Valve (IMTV)

WARNING
Substantial opening and closing torque is applied by this system. To prevent injury, be careful to keep fingers away from lever mechanisms when actuated. Failure to follow these instructions may result in personal injury.

The IMTV is a motorized actuated unit mounted directly to the intake manifold. The IMTV actuator controls a shutter device attached to the actuator shaft. There is no monitor input to the PCM with this system to indicate shutter position.

The motorized IMTV unit is not energized below a calibrated RPM. The shutter is in the closed position to prevent airflow blend from occurring in the intake manifold. The motorized unit is energized above a calibrated RPM. The motorized unit is commanded on by the PCM initially at a 100 percent duty cycle to move the shutter to the open position, and then falling to approximately 50 percent to continue to hold the shutter open.

Knock Sensor (KS)

The KS is a tuned accelerometer on the engine which converts engine vibration to an electrical signal. The PCM uses this signal to determine the presence of engine knock and to retard spark timing.

Two Types of Knock Sensor (KS):




Two Types of Knock Sensor (KS)

Manifold Absolute Pressure (MAP) Sensor

The MAP sensor measures intake manifold absolute pressure. The PCM uses information from the MAP sensor to measure how much exhaust gas is introduced into the intake manifold.

Typical Manifold Absolute Pressure (MAP) Sensor:




Typical Manifold Absolute Pressure (MAP) Sensor

Mass Air Flow (MAF) Sensor

The MAF sensor uses a hot wire sensing element to measure the amount of air entering the engine. Air passing over the hot wire causes it to cool. This hot wire is maintained at 200°C (392°F) above the ambient temperature as measured by a constant cold wire. The current required to maintain the temperature of the hot wire is proportional to the mass air flow. The MAF sensor then outputs an analog voltage signal to the PCM proportional to the intake air mass. The PCM calculates the required fuel injector pulse width in order to provide the desired air/fuel ratio. This input is also used in determining transmission electronic pressure control (EPC), shift and torque converter clutch (TCC) scheduling.

The MAF sensor is located between the air cleaner and the throttle body or inside the air cleaner assembly. Most MAF sensors have integrated bypass technology with an integrated IAT sensor. The hot wire electronic sensing element must be replaced as an assembly. Replacing only the element may change the air flow calibration.

Diagram of Air Flow Through Throttle Body Contacting MAF Sensor Hot and Cold Wire (and IAT Sensor Wire Where Applicable) Terminals:




Diagram of Air Flow Through Throttle Body Contacting MAF Sensor Hot and Cold Wire (and IAT Sensor Wire Where Applicable) Terminals.

Typical Mass Air Flow (MAF) Sensor:




Typical Mass Air Flow (MAF) Sensor

Typical Drop-in Mass Air Flow (MAF) Sensor:




Typical Drop-in Mass Air Flow (MAF) Sensor