Operation CHARM: Car repair manuals for everyone.
Manuals through 2025 now available!

Our trusted friends have launched a new website named LEMON, which has newer manuals. It also contains all the CHARM manuals.

LEMON is the spiritual successor to CHARM, I recommend you try it!

Link: lemon-manuals.la or lemon-manuals.org.ua

(Some people have issue connecting. LEMON is investigating. For now, use Firefox or change your DNS server)

Or, hide this message: temporarily or permanently

Hybrid Electric Control Hardware

HYBRID ELECTRIC CONTROL HARDWARE

Hybrid Electric Indicators
The hybrid electric warning indicators alert the driver that a hybrid electric system concern is detected. There are three indicators dedicated to the hybrid electric system:
- over-temperature indicator
- powertrain malfunction indicator (wrench)
- hazard indicator

Over-Temperature Indicator
The PCM monitors the engine, the motor electronics coolant temperature (MECT), and the electronically controlled continuously variable transaxle (CVT) for all over-temperature condition. If either of the temperatures exceed their threshold value, the fail-safe cooling status changes status to ON, and the PCM broadcasts an over-temperature indicator on controller area network (CAN) message to the instrument cluster. The instrument cluster then illuminates the indicator light. The over-temperature indicator is extinguished when the temperature returns below the threshold value.


Over-Temperature Indicator:






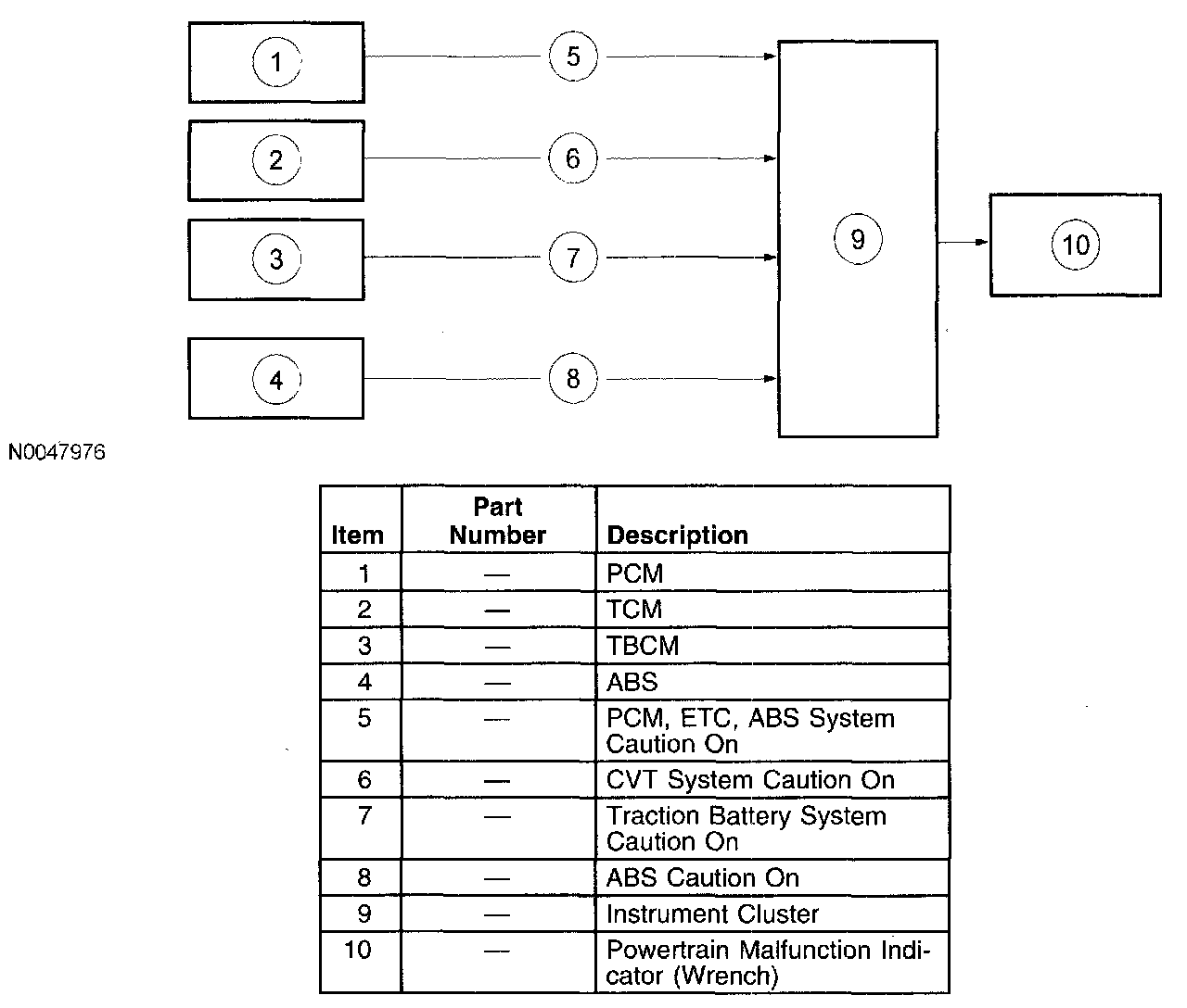
Powertrain Malfunction Indicator (Wrench)
The powertrain malfunction indicator (wrench) is illuminated whenever a concern within the hybrid electric system is detected and a repair is needed. When the concern is present, the control module that detected the concern stores the diagnostic trouble code (DTC) and broadcasts a caution on CAN message to the instrument cluster. Upon receiving the CAN message, the instrument cluster turns the indicator on.

Two actions can extinguish the powertrain malfunction indicator (wrench):
- the module requesting the indicator on is reset.
- the concern is not present anymore and the ignition is cycled.

If the powertrain malfunction indicator (wrench) flashes at the once per second rate, it indicates that the vehicle is in the engine running diagnostic mode. Refer to Diagnostic Methods, Diagnostic Modes for engine running diagnostic mode. The powertrain malfunction indicator (wrench) illuminates for 3 seconds during instrument cluster prove-out when the ignition is cycled from the OFF to the ON position. Diagnostic Modes







Hazard Indicator (Red Triangle)
The hazard indicator is illuminated whenever a severe concern within the hybrid electric system is detected and continued use of the vehicle is likely to cause damage to the system or to the vehicle. When the concern is present, the control module detects, sets the DTC and broadcasts a hazard on CAN message to the instrument cluster. Upon receiving the CAN message, the instrument cluster turns the indicator on.

Two actions can extinguish the hazard indicator:
- the module requesting the indicator on is reset.
- the concern is not present anymore and the ignition is cycled.

If the hazard indicator flashes at the once per second rate, it indicates that the vehicle is in the engine cranking diagnostic mode. Refer to Diagnostic Methods, Diagnostic Modes for engine cranking diagnostic mode. The hazard indicator illuminates for 3 seconds during the instrument prove-out when the ignition is cycled from the OFF to the ON position. Diagnostic Modes


Hazard Indicator:






High Voltage Cables

WARNING: To prevent the risk of high-voltage shock, always follow precisely all warnings and service instructions, including instructions to depower the system. The high-voltage hybrid system utilizes approximately 300 volts DC, provided through high-voltage cables to its components and modules. The high-voltage cables and wiring are identified by orange harness tape or orange wire covering. All high-voltage components are marked with high-voltage warning labels with a high-voltage symbol. Failure to follow these instructions may result in serious personal injury or death.

The high voltage cables connect the high voltage traction battery with the electronically controlled continuously variable transmission (CVT), the electronic A/C motor and the DC/DC converter. The harness is orange and contains high voltage positive and high voltage negative wires. Each of the high voltage wires contains a corresponding high voltage interlock (HVIL) circuit.

High Voltage Interlock (HVIL) Circuit
The HVIL circuit, used in conjunction with the front and rear inertia fuel shutoff (IFS) switches, disables the vehicle if a collision occurs or an open circuit concern in the high voltage connection is detected. The HVIL circuit is internal to the high voltage harness, which connects the traction battery, the electronically controlled CVT, the air conditioning compressor module (ACCM) and the DC/DC converter. The transaxle control module (TCM) and the traction battery control module (TBCM) monitor the HVIL circuit for a low battery voltage. Whenever that voltage drops below a calibrated threshold, the high voltage traction battery immediately opens its high voltage contactors, the electronically controlled CVT discharges the high voltage capacitors, and the TCM stores the DTC P0A0A. This action is initiated when the vehicle is disabled and cannot be driven.


High Voltage Interlock:






Low Voltage Battery Power
The low voltage battery is used as a low voltage energy storage. The battery is charged by the DC/DC converter. For information on the DC/DC converter, refer to the Hybrid Drive Systems High Voltage Converter/Inverter. The low voltage battery functions are:
- the voltage stabilizer in the system
- the power source for the power distribution box
- the power source for all control modules
- the power source for the traction battery during the jump start procedure

Traction Battery Control Module (TBCM)
Refer to the Hybrid Drive Systems, High Voltage Traction Battery for more information on TBCM and diagnostics.

Transaxle Control Module (TCM)

NOTE: The TCM is a part of the electronically controlled CVT assembly and cannot be repaired a separate component.

The microprocessor that controls operation of the electronically controlled CVT is called the TCM. The TCM receives a variety of CAN messages and hardwired signals from modules connected to the CAN. Based on information received, the TCM makes a decision on how to control the operation of the generator motor or the traction motor. In case of a concern, the TCM is able to detect and store the appropriate DTC. To retrieve DTCs from the TCM, carry out an on-demand and continuous memory self-test.

Transaxle Control Module (TCM) Keep Alive Memory (KAM)
The TCM stores information in KAM (a memory integrated circuit chip) about vehicle operating conditions, and then uses this information to compensate for component variability. KAM remains powered when the ignition is off so this information is not lost.