Operation CHARM: Car repair manuals for everyone.
Manuals through 2025 now available!

Our trusted friends have launched a new website named LEMON, which has newer manuals. It also contains all the CHARM manuals.

LEMON is the spiritual successor to CHARM, I recommend you try it!

Link: lemon-manuals.la or lemon-manuals.org.ua

(Some people have issue connecting. LEMON is investigating. For now, use Firefox or change your DNS server)

Or, hide this message: temporarily or permanently

Compressor Clutch: Service and Repair




Clutch and Clutch Field Coil













Removal

1. Remove the A/C compressor. For additional information, refer to Air Conditioning (A/C) Compressor Service and Repair.

2. Remove the A/C clutch disc and hub bolt.

1. Hold the A/C clutch disc and hub with the Compressor Clutch Holding Tool.

2. Remove the A/C clutch disc and hub bolt.





3. Remove the A/C clutch disc and hub.

4. Remove the A/C compressor pulley snap ring.

5. Remove the A/C compressor pulley.

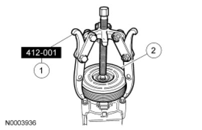
1. Install the Compressor Pulley Remover.

2. Remove the A/C compressor pulley.





6. NOTICE: Do not use air tools. The Air Conditioning (A/C) clutch field coil may be easily damaged.

Remove the A/C clutch field coil.

1. Install the Field Coil Remover.

2. Install the Compressor Pulley Remover.

3. Remove the A/C clutch field coil.





Installation

NOTE: If installing a new A/C compressor, the A/C clutch components should be reused unless obvious signs of damage are found. If excessive grooving is found, a new A/C clutch disc and hub and A/C compressor pulley must be installed together. Otherwise, each component can be installed individually where needed.

1. Visually inspect the A/C clutch disc and hub, A/C compressor pulley and A/C clutch field coil for damage.
- Inspect for physical damage, including cracked or melted components or discoloration due to excessive heat.

- Inspect for excessive wear, including grooving in the A/C clutch disc and hub or A/C compressor pulley that is more than fingernail depth.

- Inspect for roughness in the A/C compressor pulley bearing.

2. Clean the A/C clutch field coil and pulley mounting surfaces.

3. NOTICE: Do not use air tools. The Air Conditioning (A/C) clutch field coil may be easily damaged.

Install the A/C clutch field coil.

1. Place the A/C clutch field coil on the A/C compressor with the A/C clutch field coil electrical connector correctly positioned.

2. Place the Field Coil Replacer on the A/C clutch field coil.

3. Place the Coil Replacer on the Field Coil Replacer.

4. Use the Compressor Pulley Remover to install the A/C clutch field coil.





4. NOTE: The A/C clutch pulley is a tight fit on the A/C compressor head. It must be correctly aligned during installation.

Install the A/C clutch pulley.

5. Install the A/C clutch pulley snap ring with the bevel side out.

6. Place one nominal thickness A/C clutch disc and hub spacer inside the clutch hub spline opening.

7. Install the A/C clutch disc and hub assembly.

8. Install the A/C clutch disc and hub bolt.

1. Hold the A/C clutch disc and hub with the Compressor Clutch Holding Tool.

2. Install the A/C clutch disc and hub bolt.

- Tighten to 13 Nm (115 lb-in).





9. Measure and adjust the clutch air gap by removing or adding A/C clutch hub spacers.





10. Install the A/C compressor. For additional information, refer to Air Conditioning (A/C) Compressor Service and Repair.