Operation CHARM: Car repair manuals for everyone.
Manuals through 2025 now available!

Our trusted friends have launched a new website named LEMON, which has newer manuals. It also contains all the CHARM manuals.

LEMON is the spiritual successor to CHARM, I recommend you try it!

Link: lemon-manuals.la or lemon-manuals.org.ua

(Some people have issue connecting. LEMON is investigating. For now, use Firefox or change your DNS server)

Or, hide this message: temporarily or permanently

Blower Motor Switch




Blower Motor Switch

Removal and Installation

1. Remove the climate control assembly. For additional information, refer to Climate Control Assembly Climate Control Assembly.

2. Pull and remove the blower motor switch knob.

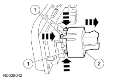
3. Remove the blower motor switch.

1. Release the 3 tabs.

2. Remove the blower motor switch.





4. To install, reverse the removal procedure.