Operation CHARM: Car repair manuals for everyone.
Manuals through 2025 now available!

Our trusted friends have launched a new website named LEMON, which has newer manuals. It also contains all the CHARM manuals.

LEMON is the spiritual successor to CHARM, I recommend you try it!

Link: lemon-manuals.la or lemon-manuals.org.ua

(Some people have issue connecting. LEMON is investigating. For now, use Firefox or change your DNS server)

Or, hide this message: temporarily or permanently

Electronic Brake Control Module: Service and Repair




Anti-Lock Brake System (ABS) Module - Hybrid









Removal and Installation

NOTICE: Electronic modules are sensitive to electrical charges. The Anti-lock Brake System (ABS) module can be damaged if exposed to these charges.

NOTICE: Do not allow any brake fluid or foreign material to enter the mating side of the Anti-lock Brake System (ABS) module or damage to the solenoids can occur.

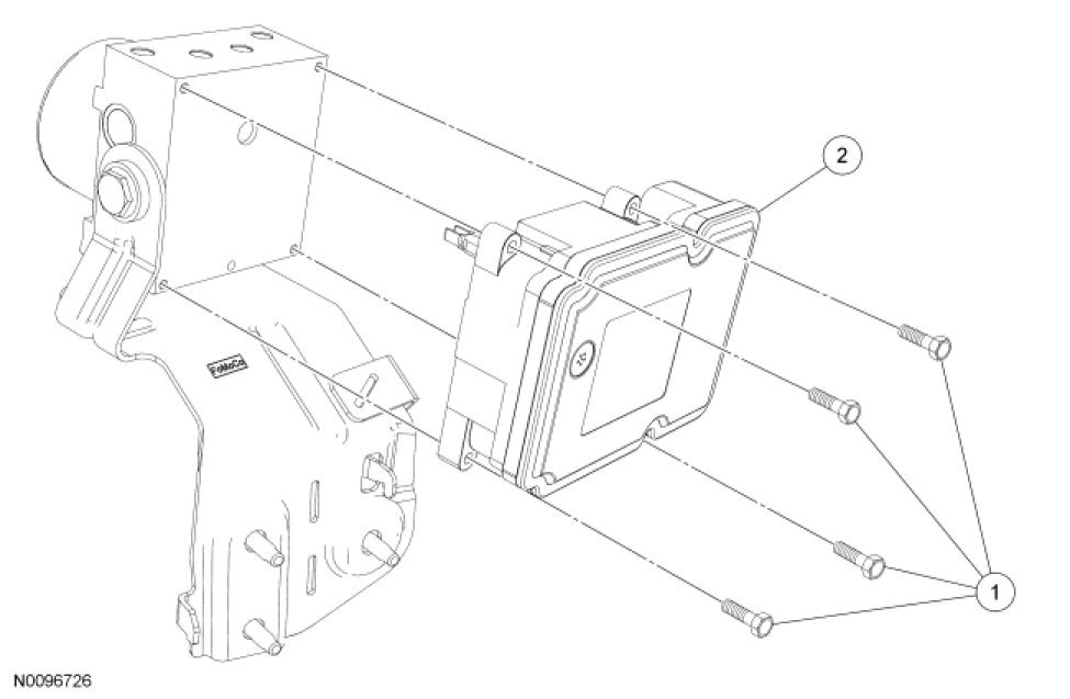
1. Remove the Hydraulic Control Unit (HCU). For additional information, refer to Hydraulic Control Unit (HCU) - Hybrid Service and Repair.

2. NOTE: Make sure the HCU and ABS module are clean and free of any brake fluid or foreign material before separating the components.

Remove the 4 ABS module screws and the ABS module.

- To install, tighten to 2 Nm (18 lb-in) using a cross-type pattern.

3. NOTE: Visually inspect the ABS module terminals for damage before installation.

To install, reverse the removal procedure.