Operation CHARM: Car repair manuals for everyone.
Manuals through 2025 now available!

Our trusted friends have launched a new website named LEMON, which has newer manuals. It also contains all the CHARM manuals.

LEMON is the spiritual successor to CHARM, I recommend you try it!

Link: lemon-manuals.la or lemon-manuals.org.ua

(Some people have issue connecting. LEMON is investigating. For now, use Firefox or change your DNS server)

Or, hide this message: temporarily or permanently

Clutch: Service and Repair




Clutch System Bleeding





WARNING: Carefully read cautionary information on product label. For EMERGENCY MEDICAL INFORMATION seek medical advice. In the USA or Canada on Ford/Motorcraft products call: 1-800-959-3673. For additional information, consult the product Material Safety Data Sheet (MSDS) if available. Failure to follow these instructions may result in serious personal injury.

NOTICE: Brake fluid is harmful to painted and plastic surfaces. If brake fluid is spilled onto a painted or plastic surface, immediately wash it with cold water.

NOTE: When any part of the hydraulic system has been disconnected for repair or new installation, air may get into the system and cause spongy brake pedal action. This requires bleeding of the hydraulic system after it has been correctly connected. The hydraulic system can be bled manually or with pressure bleeding equipment.

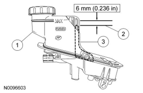
1. NOTE: Make sure the brake fluid reservoir is to the MAX mark before bleeding the clutch system. Do not allow the fluid level to drop below 6 mm (0.236 in) of the MAX mark.

Attach a rubber drain hose to the bleeder screw and submerge the free end of the hose in a container partially filled with clean brake fluid.

2. Press the clutch pedal slowly to the floor.

3. With the clutch pedal held to the floor, loosen the bleeder screw until fluid and air are expelled from the system.





4. With the clutch pedal held to the floor, tighten the bleeder screw.

5. NOTICE: The clutch hydraulic system fluid is separated from the brake system fluid by a separate reservoir within the brake reservoir. Do not allow the clutch hydraulic system fluid level in the reservoir to fall more than 6 mm (0.236 in) below the MAX mark during the bleeding operation or fluid supply to the clutch release system will be starved, allowing air to enter the clutch master cylinder. Keep the brake master cylinder reservoir filled with clean, specified brake fluid. Never reuse the brake fluid that has been drained from the hydraulic system.

Repeat Steps 2 through 4 until no air bubbles appear in the fluid.









6. Tighten the bleeder screw.
- Tighten to 7 Nm (62 lb-in).

7. Fill the brake reservoir.

8. Check system for normal operation.