Operation CHARM: Car repair manuals for everyone.
Manuals through 2025 now available!

Our trusted friends have launched a new website named LEMON, which has newer manuals. It also contains all the CHARM manuals.

LEMON is the spiritual successor to CHARM, I recommend you try it!

Link: lemon-manuals.la or lemon-manuals.org.ua

(Some people have issue connecting. LEMON is investigating. For now, use Firefox or change your DNS server)

Or, hide this message: temporarily or permanently

Windshield Washer Reservoir: Service and Repair




Washer Reservoir





Removal and Installation

All vehicles

1. With the vehicle in NEUTRAL, position it on a hoist. For additional information, refer to Jacking and Lifting Service and Repair.

2. Remove the RH front fender splash shield. For additional information, refer to Front End Body Panels Fender Splash Shield.

3. Disconnect the windshield washer pump electrical connector.

4. WARNING: Carefully read cautionary information on product label. For EMERGENCY MEDICAL INFORMATION seek medical advice. In the USA or Canada on Ford/Motorcraft products call: 1-800-959-3673. For additional information, consult the product Material Safety Data Sheet (MSDS) if available. Failure to follow these instructions may result in serious personal injury.

NOTE: To prevent spilling windshield washer fluid, drain the windshield washer reservoir before removal.

Disconnect the washer pump hose.

Hybrid vehicles

5. Remove the coolant reservoir bolt and nut and position the reservoir aside in order to gain access to the washer reservoir filler neck.
- To install, tighten to 7 Nm (62 lb-in).





All vehicles

6. Remove the bolt and the windshield washer reservoir filler neck.
- To install, tighten to 7 Nm (62 lb-in).

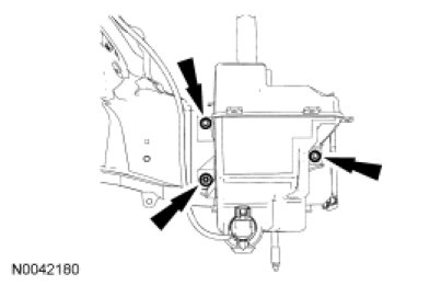
7. Remove the windshield washer reservoir fasteners and the windshield washer reservoir.
- To install, tighten to 7 Nm (62 lb-in).





8. NOTICE: Do not operate the windshield washer pump prior to filling the windshield washer reservoir. Failure to follow these instructions may result in premature pump failure.

To install, reverse the removal procedure.

- Fill the windshield washer reservoir with windshield washer fluid.