Operation CHARM: Car repair manuals for everyone.
Manuals through 2025 now available!

Our trusted friends have launched a new website named LEMON, which has newer manuals. It also contains all the CHARM manuals.

LEMON is the spiritual successor to CHARM, I recommend you try it!

Link: lemon-manuals.la or lemon-manuals.org.ua

(Some people have issue connecting. LEMON is investigating. For now, use Firefox or change your DNS server)

Or, hide this message: temporarily or permanently

High Altitude - 49 State Diesel Modification

83mitsubishi04

SUBJECT:

49 STATE HIGH ALTITUDE MODIFICATION PROCEDURES-DIESEL TRUCK
NO. STB-83-25-002

DATE September, 1983

MODEL 1984 Turbo Diesel Truck
ELIGIBILITY

1984 Turbo Diesel Trucks distributed to 49 state high altitude markets must be modified for high altitude operation before sale.

If a 1984 Diesel Truck's ultimate intended use is in a designated High Altitude state or county, it must be modified for high altitude operation.



VEHICLES TO BE MODIFIED

Only 49 State Diesel Trucks are eligible to receive High Altitude Modifications. The twelfth (12th) digit of the Vehicle Identification Number must be a 4".
MODIFICATION PROCEDURE


The modification procedure is in three steps:
A. Adjust the fuel injection timing to 3~ ATC.
B. Check idle speed and adjust if necessary to 750 +/- 50 rpm.
C. Affix high-altitude label MD075095 to the vehicle.

These steps are covered in detail on the following pages.



INSTRUCTIONS

A. Adjust fuel injection timing.


1. Disconnect battery positive ("+") cable.


2. Set timing mark to TDC.



3. Loosen all 4 Injection pipe nuts. Do not loosen delivery valve holder.



4. Loosen the two nuts and bolts securing the injection pump.



5. Remove the plug and copper gasket from the rear of the pump.



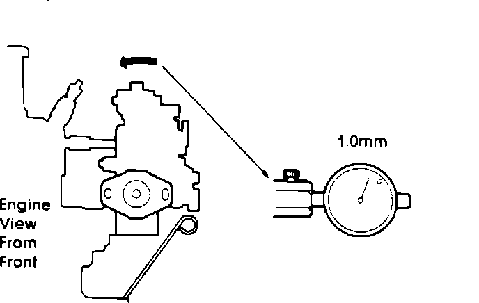
6. Set up the Prestroke Measuring Adapter (M 998384). *Be sure the push rod is adjusted to 10 mm (0.4 in.) then thread the adapter and dial indicator into the rear of the pump to a point where it lightly contacts the pump.
^ All Special Service Tools including the Prestroke Measuring Adapter are ordered from:
OWATONNA TOOL COMPANY Mitsubishi Order Desk Owatonna, MN 55060 (507) 455-2626

7. Place the transmission in 4th gear.



8. Push the truck backward until the crankshaft pulley timing mark has moved counterclockwise to a position approximately 30~ BEFORE TDC. Turn the face of the dial indicator to zero.


9. Pull the truck forward until the crankshaft pulley timing mark aligns with the TDC mark.



10. Push the injection pump toward the engine until the dial indicator reads 1.0 mm, then tighten the two nuts and two bolts securing the pump.

11. Remove the Prestroke Measuring Adapter from the rear of the injection pump, then reinstall the plug and copper gasket.

12. Tighten the 4 injection pipe nuts, 13. Reconnect battery positive ("+") cable.

14. Shift the transmission into Neutral, then start the engine and check for fuel leaks.



B. Check and adjust engine idle speed.

1. Run engine 5 sec. at 2000-3000 rpm.


2. Allow engine to idle for 2 minutes.


3. Using a tachometer, read idle speed. If not 750 rpm +/- 50, adjust to specification using the idle speed adjusting screw. NOTE:
Please note the new location of idle speed adjusting screw on the 1984 turbo diesel engine.



C. Affix high-altitude label MD075095 to the vehicle

Install the "Vehicle Emission Control Information Update" label MD075095 to the radiator bulkhead in the location shown below.
WARRANTY CLAIM SUBMISSION REQUIREMENTS

1. Follow normal warranty claim procedures.
2. Print the High Altitude Installation" across the face of the claim.
3. Use Labor Operation Code 25-05-30-01.
4. Use installation time (for all models) 0.3 Hours.
5. Use Failure Code 99.