Operation CHARM: Car repair manuals for everyone.
Manuals through 2025 now available!

Our trusted friends have launched a new website named LEMON, which has newer manuals. It also contains all the CHARM manuals.

LEMON is the spiritual successor to CHARM, I recommend you try it!

Link: lemon-manuals.la or lemon-manuals.org.ua

(Some people have issue connecting. LEMON is investigating. For now, use Firefox or change your DNS server)

Or, hide this message: temporarily or permanently

Ignition Control Module: Testing and Inspection

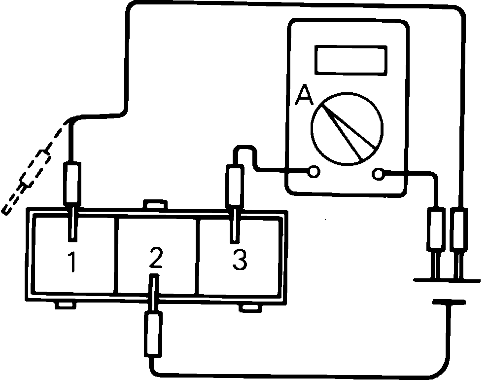
Fig. 36 Testing power transistor.:





1. Disconnect power transistor connector.
2. Check for current flow when 1.5 volts is applied between terminals 1 and 2, Fig. 36.
3. Check that no current flows when 1.5 volts is applied between power transistor terminals 3 and 2, Fig. 36.