Operation CHARM: Car repair manuals for everyone.
Manuals through 2025 now available!

Our trusted friends have launched a new website named LEMON, which has newer manuals. It also contains all the CHARM manuals.

LEMON is the spiritual successor to CHARM, I recommend you try it!

Link: lemon-manuals.la or lemon-manuals.org.ua

(Some people have issue connecting. LEMON is investigating. For now, use Firefox or change your DNS server)

Or, hide this message: temporarily or permanently

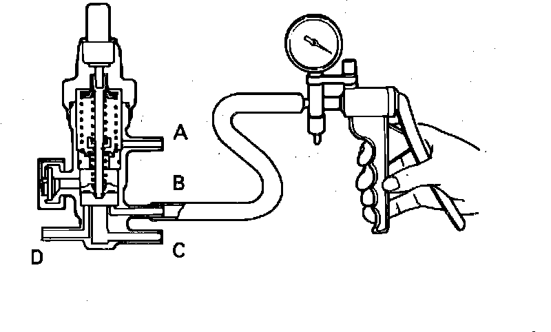
Exhaust Gas Recirculation: Testing and Inspection

Fig. 55 Testing the thermo valve:





1. Disconnect all vacuum hoses from the thermo valve.
2. Connect a hand vacuum pump to nipple (B), Fig. 55 and verify that when the engine is cold (coolant temperature less than 63 +/- 2.7 degrees C or 145 +/- 5 degrees F) vacuum leaks.
3. Warm the engine up (coolant temperature greater than 65 +/- 2 degrees C or 149 +/- 4 degrees F) vacuum holds.