Operation CHARM: Car repair manuals for everyone.
Manuals through 2025 now available!

Our trusted friends have launched a new website named LEMON, which has newer manuals. It also contains all the CHARM manuals.

LEMON is the spiritual successor to CHARM, I recommend you try it!

Link: lemon-manuals.la or lemon-manuals.org.ua

(Some people have issue connecting. LEMON is investigating. For now, use Firefox or change your DNS server)

Or, hide this message: temporarily or permanently

Idle Speed Motor Position Sensor: Testing and Inspection

*** UPDATED BY TSB #913017, DATED NOVEMBER 1991

The original O.E. service showed an incorrect motor position sensor connector.

Motor Position Sensor Circuit:





To test the motor position sensor located in the idle speed control (ISC) motor, proceed as follows

COMPONENT TEST
1. Disconnect the motor position sensor connector
2. Using an Ohm meter, check the resistance between terminals 5 and 6.

Resistance Value: 4k - 6k Ohms

3. Disconnect the ISC servo connector.
4. Connect an Ohmmeter to terminals 5 and 6 of the motor position sensor connector.

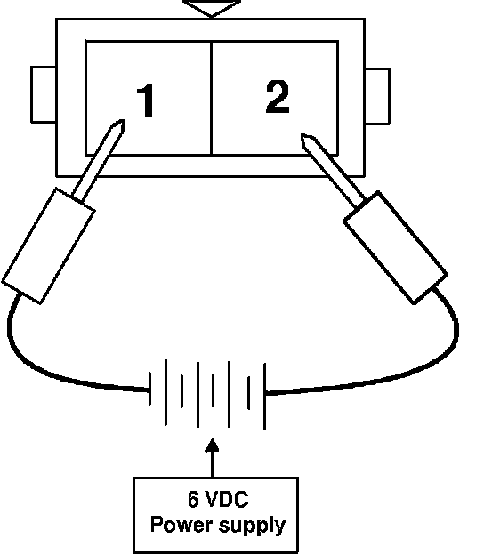
Idle Speed Control (ISC) Servo With 6 Volt Power Supply:





5. Connect a 6 VOLT DC power supply the the ISC connector terminals 1 and 2. This will extend or retract the servo depending upon the polarity of the power connection.

Caution: Do not apply more than 6 Volts DC to the ISC motor. Application of more than 6 Volts can cause locking of the motor gears, and damage to the motor.

6. Measure the resistance of the sensor as it is extended and retracted. There should be a smooth increase in resistance as the servo extends and a smooth decrease in resistance as the servo retracts. If the reading is not smooth the assembly should be replaced.

HARNESS TEST
1. Disconnect the ISC connector and turn the key to the ON position.

2. Using a Voltmeter, measure the power supply Voltage between the harness connector terminals 2 and ground and 6 and ground.

Voltage: 4.8 - 5.2 Volts

3. Check for continuity of the ground circuit, between the harness connector terminal 3 and ground.

Continuity: Should exist

4. Disconnect the ECU connector. Check for continuity (short) to ground between the engine control unit harness connector terminal 17 and the motor position sensor harness connector terminal 5.

Continuity: Should not exist

5. Check for continuity between the engine control unit harness connector terminal 17 and the motor position sensor harness connector terminal 5.

Continuity: Should exist

If any of the previous tests produce unsatisfactory results, the harness will need to be repaired or replaced. Once repairs have been completed, clear the trouble codes and road test the vehicle to confirm that the repair has corrected the problem and the code doesn't return.

If the same trouble code reoccurs, it is possible that there is an intermittent failure of the component or the ECU. Check for looseness at all harness junctions and test for an intermittent failure.