Operation CHARM: Car repair manuals for everyone.
Manuals through 2025 now available!

Our trusted friends have launched a new website named LEMON, which has newer manuals. It also contains all the CHARM manuals.

LEMON is the spiritual successor to CHARM, I recommend you try it!

Link: lemon-manuals.la or lemon-manuals.org.ua

(Some people have issue connecting. LEMON is investigating. For now, use Firefox or change your DNS server)

Or, hide this message: temporarily or permanently

Power Transistor & Ignition Coil

Ignition Coil And Power Transistor Circuit:





To test the Power Transistor and Ignition Coil, located on the intake manifold, using an analog type circuit tester, proceed as follows:

POWER TRANSISTOR

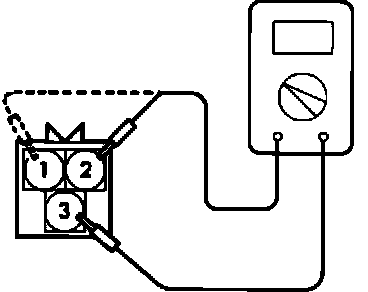
Fig. 1 Power Transistor Test:





NO. 1 & NO. 4 COIL SIDE
1. Disconnect the power transistor connector.
2. Connect a power supply of 1.5v (one dry cell) between power transistor terminals 6 (+) and 3 (-).
3. Check for continuity between terminals 7 (+) and 3 (-).

Continuity: Should exist

4. Remove power from terminals 6 and 3.
5. Check for continuity between terminals 7 (+) and 3 (-).

Continuity: Should not exist

Fig. 2 Power Transistor Test:





NO. 2 & NO. 3 COIL SIDE
1. Disconnect the power transistor connector.
2. Connect a power supply of 1.5v (one dry cell) between power transistor terminals 2 (+) and 3 (-).
3. Check for continuity between terminals 1 (+) and 3 (-).

Continuity: Should exist

4. Remove power from terminals 2 and 3.
5. Check for continuity between terminals 1 (+) and 3 (-).

Continuity: Should not exist

If the Power Transistor fails any of these tests, replace the Power Transistor.

IGNITION COIL

Ignition Coil Primary Circuit Test:





1. Disconnect the ignition coil connector.
2. Using an Ohm meter, check the resistance between terminals 1 and 3.

Resistance: 0.77 - 0.95 Ohms

3. Using an Ohm meter, check the resistance between terminals 2 and 3.

Resistance: 0.77 - 0.95 Ohms

Ignition Coil Secondary Circuit Test:





4. Using an Ohm meter, check the resistance between secondary terminals for cylinders No. 1 and No. 4.

Resistance: 10.3k - 13.9k Ohms

5. Using an Ohm meter, check the resistance between secondary terminals for cylinders No. 2 and No. 3.

Resistance: 10.3k - 13.9k Ohms

Replace the ignition coil if it fails any of these tests.

Power Transistor Control Signal Scope Pattern:





OSCILLOSCOPE TEST
1. Run engine at idle speed.
2. Connect the scope probe to pick-up point #2 (one side at a time) shown in the system schematic diagram and compare each signal to the pattern shown.
If scope pattern is not as depicted in image, continue with the rest of the test procedures before replacing the assembly.

HARNESS TEST
1. Disconnect the ignition coil connector and turn the key to the ON position.

2. Using a Voltmeter, measure the power supply circuit of the ignition coil between the harness connector terminal 1 and ground and the transistor harness connector terminal 7 and ground.

Voltage: System Voltage

3. Turn the key to the OFF position and disconnect the negative battery cable and ECU connector. Using an Ohmmeter, check for continuity between the transistor harness connector terminal 4 and ECU harness connector terminal 109.

Continuity: Should exist

4. Using an Ohmmeter, check for continuity between the ECU harness connector terminal 109 and ground.

Continuity: Should not exist

5. Disconnect the power transistor connector. Using an Ohmmeter, check for continuity between the coil harness connector terminal 1 and the power transistor harness connector terminal 1.

Continuity: Should exist

6. Using an Ohmmeter, check for continuity between the coil harness connector terminal 2 and the power transistor harness connector terminal 8.

Continuity: Should exist

7. Using an Ohmmeter, check for continuity between the ECU harness connector terminal 54 and ground.

Continuity: Should not exist

8. Using an Ohmmeter, check for continuity between the ECU harness connector terminal 55 and ground.

Continuity: Should not exist

9. Using an Ohmmeter, check for continuity between the power transistor harness connector terminal 2 and ground.

Continuity: Should not exist

10. Using an Ohmmeter, check for continuity between the power transistor harness connector terminal 4 and ground.

Continuity: Should not exist

11. Using an Ohmmeter, check for continuity between the ignition timing check connector terminal and and the ECU harness connector terminal 12.

Continuity: Should exist

12. Reconnect the ECU harness connector and negative battery cable.
13. Turn the key to the START position.
14. Using an Volt meter, check the Voltage between the power transistor harness connector terminal 2 and ground.

Voltage: 0.5 - 4.0

15. Using a Volt meter, check the Voltage between the power transistor harness connector terminal 6 and ground.

Voltage: 0.5 - 4.0

16. Turn the key to the ON position.
17. Using a Volt meter, check the Voltage between the ignition timing adjustment connector and ground.

Voltage: 4.0 - 5.2

If any of the previous tests produce unsatisfactory results, the harness will need to be repaired or replaced. Once repairs have been completed, clear the trouble codes and road test the vehicle to confirm that the repair has corrected the problem and the code doesn't return.
If the trouble code returns, it is possible that there is an intermittent failure of the component or the ECU. Check for looseness at all harness junctions and test for an intermittent failure.