Operation CHARM: Car repair manuals for everyone.
Manuals through 2025 now available!

Our trusted friends have launched a new website named LEMON, which has newer manuals. It also contains all the CHARM manuals.

LEMON is the spiritual successor to CHARM, I recommend you try it!

Link: lemon-manuals.la or lemon-manuals.org.ua

(Some people have issue connecting. LEMON is investigating. For now, use Firefox or change your DNS server)

Or, hide this message: temporarily or permanently

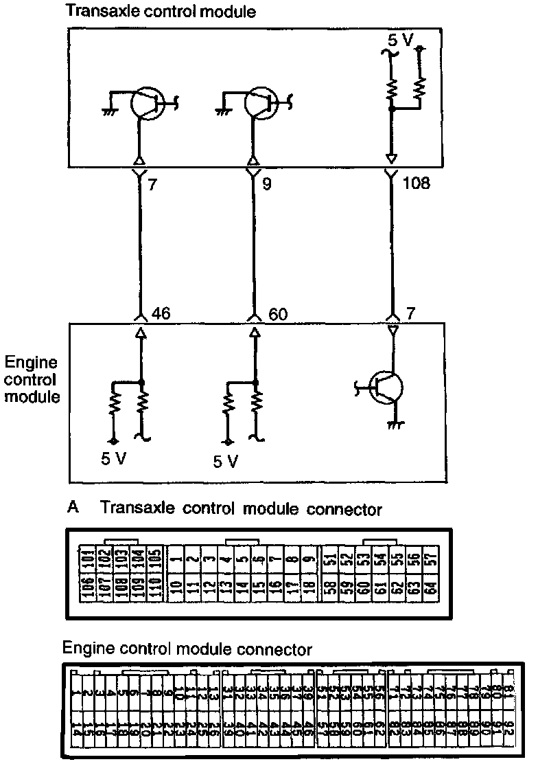
Engine and Transaxle Total Control Signal

OPERATION




- Three communication lines are connected between the Engine Control Module and the Transaxle Control Module to send and receive the engine and transaxle total control signal.




- If the transistor inside the Engine Control Module changes from OFF to ON by the command of the engine control module, the terminal having a voltage of 5 V applied to it from the transaxle control module is grounded in the engine control module.
This will change the terminal voltage of the transaxle control module from HIGH to LOW. If the transistor fitted inside the engine control module changes from ON to OFF, the terminal, having applied to it a voltage of 5 V from the transaxle control module and grounded in the engine control module, is released and the terminal voltage of the transaxle control module changes from LOW to HIGH. In this way, the terminal voltage of the transaxle control module is controlled by ON/OFF operation of the transistor inside the engine control module in order to send signal.
On the other hand, the transaxle control module also controls the terminal voltage of the engine control module by the ON/OFF operation of the transistor fitted inside the transaxle control module in order to send signal. In this way, the engine and transaxle send control signals to each other.