Operation CHARM: Car repair manuals for everyone.
Manuals through 2025 now available!

Our trusted friends have launched a new website named LEMON, which has newer manuals. It also contains all the CHARM manuals.

LEMON is the spiritual successor to CHARM, I recommend you try it!

Link: lemon-manuals.la or lemon-manuals.org.ua

(Some people have issue connecting. LEMON is investigating. For now, use Firefox or change your DNS server)

Or, hide this message: temporarily or permanently

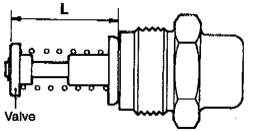
Oil Cooler, Engine






DIMENSIONS
By-Pass Valve Dimension (L) [1]: 34.5 mm (1.36 inch)
By-Pass Hole Closing Temperature [2]: 40 mm (1.57 inch) or more
By-Pass Valve Oil Pressure [3]: 80 kPa (11.4 psi) or more

[1]: Normal temperature.
[2]: 97-103° C (207-217° F) or more.
[3]: Conditions: At curb idle speed and oil temperature is 75-90° C (167-194° F).