Operation CHARM: Car repair manuals for everyone.
Manuals through 2025 now available!

Our trusted friends have launched a new website named LEMON, which has newer manuals. It also contains all the CHARM manuals.

LEMON is the spiritual successor to CHARM, I recommend you try it!

Link: lemon-manuals.la or lemon-manuals.org.ua

(Some people have issue connecting. LEMON is investigating. For now, use Firefox or change your DNS server)

Or, hide this message: temporarily or permanently

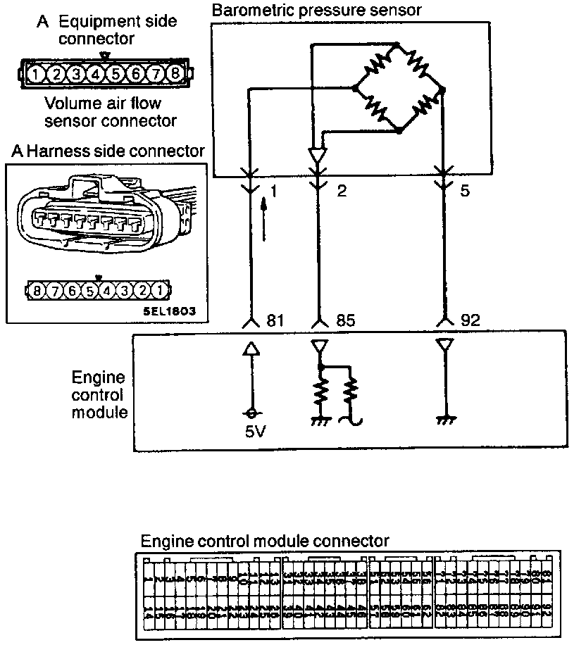
Barometric Pressure Sensor: Testing and Inspection








TROUBLESHOOTING HINTS
Hint 1:
If there is a malfunction of the barometric pressure sensor, driveablity of the vehicle will become worse, particularly at high altitudes.
Hint 2:
If, during high-speed driving, there is a noticeable sharp drop of the displayed pressure of the barometric-pressure sensor, check for clogging of the air cleaner.




INSPECTION

Using Scan Tool




HARNESS INSPECTION
STEP 1. Check for continuity in the ground circuit.
- Volume air flow sensor connector: Disconnected
OK: GO TO STEP 2
NG: Repair the harnesses. (A5 - 92)




STEP 2. Check for an open or short-circuit between the barometric pressure sensor and the engine control module.
- Volume air flow sensor connector: Disconnected
- Engine control module connector: Disconnected
OK: GO TO STEP 3
NG: Repair the harnesses. (A1 - 81, A2 - 85)




STEP 3. Measure the power supply voltage of the barometric pressure sensor.
- Volume air flow sensor connector: Disconnected
- Ignition switch: ON
- Engine control module connector: Connected
Voltage (V): 4.8 - 5.2
OK: STOP
NG: Replace the engine control module.