Operation CHARM: Car repair manuals for everyone.
Manuals through 2025 now available!

Our trusted friends have launched a new website named LEMON, which has newer manuals. It also contains all the CHARM manuals.

LEMON is the spiritual successor to CHARM, I recommend you try it!

Link: lemon-manuals.la or lemon-manuals.org.ua

(Some people have issue connecting. LEMON is investigating. For now, use Firefox or change your DNS server)

Or, hide this message: temporarily or permanently

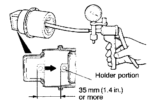
Cruise Control Servo: Testing and Inspection

ACTUATOR INSPECTION




1. Remove the actuator.
2. Using a vacuum pump, apply a negative pressure to the actuator to check that the holder portion moves more than 35 mm (1.4 in.). Retain the negative pressure in that state to check that the holder portion does not change its position.
3. After the actuator has been mounted, check and adjust the cruise control cable.