Operation CHARM: Car repair manuals for everyone.
Manuals through 2025 now available!

Our trusted friends have launched a new website named LEMON, which has newer manuals. It also contains all the CHARM manuals.

LEMON is the spiritual successor to CHARM, I recommend you try it!

Link: lemon-manuals.la or lemon-manuals.org.ua

(Some people have issue connecting. LEMON is investigating. For now, use Firefox or change your DNS server)

Or, hide this message: temporarily or permanently

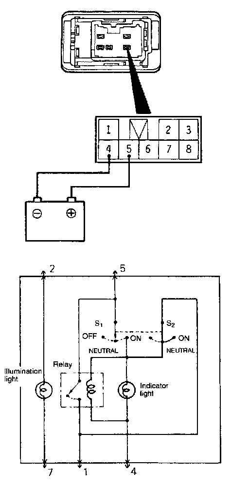
Auto-Cruise Control Main Switch Check

AUTO-CRUISE CONTROL MAIN SWITCH CHECK

1. Turn the ignition switch to ON.




2. Check that the indicator light within the switch illuminates when the main switch is turned to ON.







1. Operate the main switch and check the continuity between the terminals.
2. Connect the positive battery terminal to terminal (5) and the negative battery terminal to terminal (4), and then check that there is battery positive voltage between terminal (1) and the ground when the main switch is turned to ON and during the period before it is turned to OFF. Check that the battery positive voltage between terminal (1) and the ground is reduced to 0 V when the main switch is turned to OFF.