Operation CHARM: Car repair manuals for everyone.
Manuals through 2025 now available!

Our trusted friends have launched a new website named LEMON, which has newer manuals. It also contains all the CHARM manuals.

LEMON is the spiritual successor to CHARM, I recommend you try it!

Link: lemon-manuals.la or lemon-manuals.org.ua

(Some people have issue connecting. LEMON is investigating. For now, use Firefox or change your DNS server)

Or, hide this message: temporarily or permanently

Coolant Temperature Sensor/Switch (For Computer): Testing and Inspection

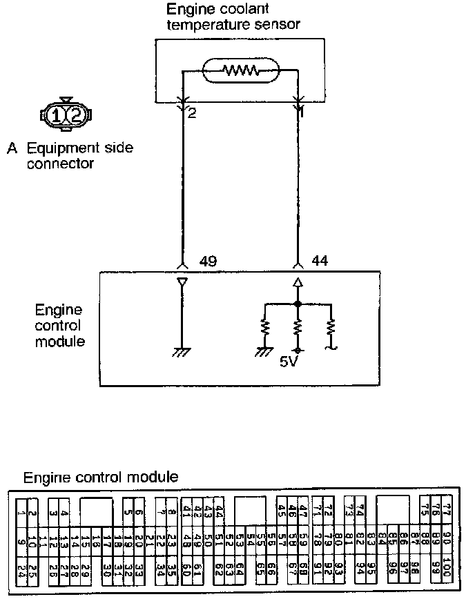
ENGINE COOLANT TEMPERATURE SENSOR OPERATION










OPERATION
- The engine coolant temperature sensor functions to convert the barometric pressure to voltage, and to input that voltage (as signals) to the engine control module. The engine control module, based upon those signals, regulates the amount of fuel injection and the fast-idling speed when the engine is cold.
- The 5 V power supply within the engine control module is supplied, by way of the resistance within the unit, to the engine coolant temperature sensor; it passes through the engine coolant temperature sensor, which is a type of resistor, and is grounded at the engine control module. Note that the resistance of the engine coolant temperature sensor decreases when the temperature of the engine coolant increases.
- The engine coolant temperature sensor terminal voltage becomes higher when the resistance of the engine coolant temperature sensor increases, and becomes lower when the resistance decreases. Consequently, the engine coolant temperature sensor terminal voltage varies in accordance with the temperature of the engine coolant, becoming lower when the temperature of the engine coolant increases.

TROUBLESHOOTING HINTS
If, during engine warm-up, the fast-idling speed is not correct, or black smoke is emitted, the problem is usually a malfunction of the coolant temperature sensor.




INSPECTION
Using Scan Tool

HARNESS INSPECTION




STEP 1. Check for continuity in the ground circuit.
- Engine coolant temperature sensor connector: Disconnected
OK: GO TO STEP 2
NG: Repair the harness. (A2 - 49)




STEP 2. Check for an open or short-circuit between the engine coolant temperature sensor and the engine control module.
- Engine coolant temperature sensor connector: Disconnected
- Engine control module connector: Disconnected
OK: GO TO STEP 3
NG: Repair the harness. (A1 - 44)




STEP 3. Measure the power supply voltage.
- Engine coolant temperature sensor connector: Disconnected
- Engine control module connector: Connected
- Ignition switch: ON
Voltage (V): 4.5 - 4.9 V
OK: STOP
NG: Replace the engine control module.

ENGINE COOLANT TEMPERATURE SENSOR CHECK
1. Remove the engine coolant temperature sensor from the intake manifold.




2. With temperature sensing portion of coolant temperature sensor immersed in hot water check resistance.




Standard value:

3. If the resistance is outside the standard value greatly replace the sensor.




4. Apply specified sealant to the threaded portion.
Specified sealant: 3M Nut Locking Part No. 4171 or equivalent
5. Install the engine coolant temperature sensor and tighten it to the specified torque.
Sensor tightening torque: 30 N.m (22 ft.lbs)