Operation CHARM: Car repair manuals for everyone.
Manuals through 2025 now available!

Our trusted friends have launched a new website named LEMON, which has newer manuals. It also contains all the CHARM manuals.

LEMON is the spiritual successor to CHARM, I recommend you try it!

Link: lemon-manuals.la or lemon-manuals.org.ua

(Some people have issue connecting. LEMON is investigating. For now, use Firefox or change your DNS server)

Or, hide this message: temporarily or permanently

Manifold Pressure/Vacuum Sensor: Testing and Inspection

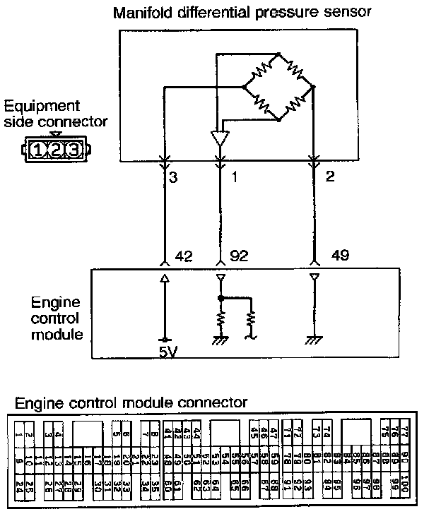
MANIFOLD DIFFERENTIAL PRESSURE (MDP) SENSOR










OPERATION
- The manifold differential pressure sensor converts air pressures in the intake manifold plenum into voltage signals and send them to the engine control module.
The engine control module monitors the EGR system using this signals and generates the diagnostic trouble code if there is an abnormality in the EGR system.
- 5 V of power is supplied to the manifold differential pressure sensor from the engine control module, and the sensor circuit ground is located in the engine control module.
- The manifold differential pressure sensor output voltage is proportioned to the intake manifold plenum pressure and sent to the engine control module.




INSPECTION
Using Scan Tool

HARNESS INSPECTION




STEP 1. Check for continuity of the ground circuit.
- Manifold differential pressure sensor connector: Disconnected
OK: GO TO STEP 2
NG: Repair the harness. (A2 - 49)




STEP 2. Check for open-circuit, or short-circuit to ground, between the engine control module and the manifold differential pressure sensor
- Manifold differential pressure sensor connector: Disconnected
- Engine control module connector: Disconnected
OK: GO TO STEP 3
NG: Repair the harness. (A1 - 92)




STEP 3. Measure the sensor feed voltage to the manifold differential pressure sensor.
- Manifold differential pressure sensor connector: Disconnected
- Engine control module connector: Connected
- Ignition switch: ON
Voltage: 4.8 - 5.2 V
OK: STOP
NG: Replace the engine control module.