Control Unit: Testing and Inspection
REAR DIFFERENTIAL LOCK AIR PUMP1. Connect the pressure gage to the air pump discharge outlet nozzle, via the air hose and T-joint.
2. Install air hose to the differential.
3. Apply battery positive voltage to the air pump connector.
4. Measure the time between when the pump starts and stops operating, and if it stops within 5 seconds, the pressure switch inside the pump is normal.
5. Measure the pressure 10-20 seconds after the pump has stopped.
Standard value: 25 - 40 kPa (4 - 6 psi.)
If the pressure is within the standard value, the release valve inside the pump is normal.
6. Check that the pump does not begin operating for 5 minutes after it has stopped.
7. If the inspection for 4-6 is normal, then the pump is fully operational.
REAR DIFFERENTIAL LOCK CONTROL UNIT
1. Measure the terminal voltages under each condition.
2. With the control unit connected to the harness and the probe inserted into the rear of the harness connector, carry out the voltage measurements between terminal 6 (ground terminal) and each other terminal.
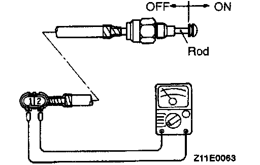
REAR DIFFERENTIAL LOCK SWITCH CONTINUITY
REAR DIFFERENTIAL LOCK DETECTION SWITCH
1. Connect an ohmmeter to the detection switch connector.
2. The rear differential lock detection switch is in good condition when the rod of the detection switch is pulled, there should be continuity, and when it is returned to its normal position, no continuity.
NOTE: Remove the differential carrier in order to replace the rear differential lock detection switch.