Operation CHARM: Car repair manuals for everyone.
Manuals through 2025 now available!

Our trusted friends have launched a new website named LEMON, which has newer manuals. It also contains all the CHARM manuals.

LEMON is the spiritual successor to CHARM, I recommend you try it!

Link: lemon-manuals.la or lemon-manuals.org.ua

(Some people have issue connecting. LEMON is investigating. For now, use Firefox or change your DNS server)

Or, hide this message: temporarily or permanently

Inspection Procedure 3

The Malfunction Indicator Lamp (SERVICE ENGINE SOON or Check Engine Lamp) Does Not Illuminate Right after the Ignition Switch Is Turned to the "ON" Position.

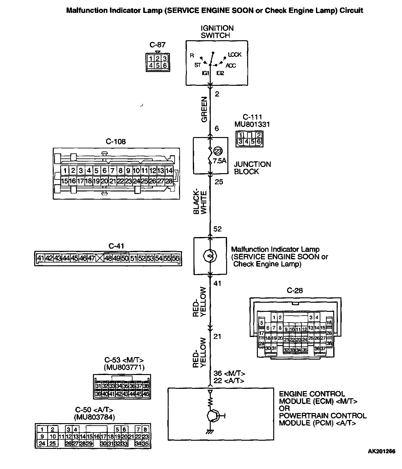
Malfunction Indicator Lamp (Service Engine Soon Or Check Engine Lamp) Circuit Part 1:




Malfunction Indicator Lamp (Service Engine Soon Or Check Engine Lamp) Circuit Part 2:






CIRCUIT OPERATION
- The malfunction indicator lamp (SERVICE ENGINE SOON or check engine lamp) power is supplied from the ignition switch.
- The ECM or PCM controls the ground of the malfunction indicator lamp (SERVICE ENGINE SOON or check engine lamp) by turning the power transistor in the ECM or PCM ON and OFF.

COMMENT
- The ECM or PCM
causes the malfunction indicator lamp (SERVICE ENGINE SOON or check engine lamp) to illuminate for 5 seconds immediately after the ignition switch is turned to the "ON" position occurred.

TROUBLESHOOTING HINTS (The most likely causes for this case:)
- Burnt-out bulb.
- Defective malfunction indicator lamp (SERVICE ENGINE SOON or check engine lamp) circuit.
- Malfunction of the ECM or PCM .

DIAGNOSIS

Required Special Tool:
- MB991502: Scan Tool (MUT-II)

STEP 1. Using scan tool MB991502, check data list item 16: Power Supply Voltage.






CAUTION: To prevent damage to scan tool MB991502, always turn the
ignition switch to the "LOCK" (OFF) position before, connecting or disconnecting scan tool MB991502.

1. Connect scan tool MB991502 to the data link connector.
2. Turn the ignition switch to the "ON" position.
3. Set scan tool MB991502 to the data reading mode for item 16, Power Supply Voltage.
- Voltage should be battery positive voltage.

4. Turn the ignition switch to the "LOCK" (OFF) position.

Q: Is the voltage normal?

YES: Go to Step 2.

NO: Refer to INSPECTION PROCEDURE 29 - Power Supply System and Ignition Switch - IG System.

STEP 2. Check the burned-out bulb.

Q: Is the valve normal?

YES: Go to step 3.

NO: Replace the bulb. Then confirm that the malfunction symptom is eliminated.




STEP 3. Check connector C-41 at the combination meter for damage.

Q: Is the connector in good condition?

YES: Go to step 4.

NO: Repair or replace it. Refer to Harness Connector Inspection. Then confirm that the malfunction symptom is eliminated.

STEP 4. Check the power supply voltage at combination meter harness side connector C-41.

1. Disconnect the connector C-41 and measure at the harness side.
2. Turn the ignition switch to the "ON" position.




3. Measure the voltage between terminal 52 and ground.
- Voltage should be battery positive voltage.

4. Turn the ignition switch to the "LOCK" (OFF) position.

Q: Is the voltage normal?

YES: Go to Step 5.

NO: Check harness connectors C-108 and C-111 at intermediate connector for damage, and repair or replace as required. Refer to Harness Connector Inspection. If intermediate connectors are in good condition, repair harness wire between ignition switch connector C-87 terminal 2 and combination meter connector C-41 terminal 52 because of open circuit. Then confirm that the malfunction symptom is eliminated.




STEP 5. Check connector C-53 at ECM or connector C-50 at PCM for damage.

Q: Is the connector in good condition?

YES: Go to Step 6.

NO: Repair or replace it. Refer to Harness Connector Inspection. Then confirm that the malfunction symptom is eliminated.

STEP 6. Check the power supply voltage ECM connector C-53 or PCM connector C-50
.

1. Disconnect the connector C-53 or C-50
and measure at the harness side.
2. Turn the
ignition switch to the "ON" position.







3. Measure the voltage between terminal 36 or 22 and ground.
- Voltage should be battery positive voltage.

4. Turn the
ignition switch to the "LOCK" (OFF) position.

Q: Is the voltage normal?

YES: Replace the ECM or PCM. Then confirm that the malfunction symptom is eliminated.

NO: Check harness connectors C-28 at intermediate connector for damage, and repair or replace as required. Refer to Harness Connector Inspection. If intermediate connectors is in good condition, repair harness wire between combination meter connector C-41 terminal 41 and ECM connector C-53 terminal 36 or PCM connector C-50 terminal 22 because of open circuit. Then confirm that the malfunction symptom is eliminated.