Operation CHARM: Car repair manuals for everyone.
Manuals through 2025 now available!

Our trusted friends have launched a new website named LEMON, which has newer manuals. It also contains all the CHARM manuals.

LEMON is the spiritual successor to CHARM, I recommend you try it!

Link: lemon-manuals.la or lemon-manuals.org.ua

(Some people have issue connecting. LEMON is investigating. For now, use Firefox or change your DNS server)

Or, hide this message: temporarily or permanently

Inspection Procedure 31

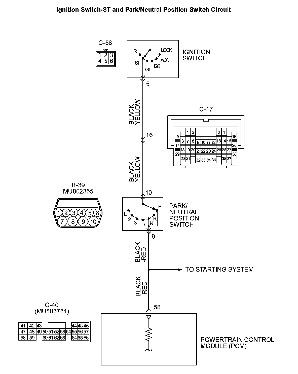
Ignition Switch-ST System And Park/Neutral Position Switch System.

Ignition Switch-ST And Park/Neutral Position Switch Circuit Part 1:




Ignition Switch-ST And Park/Neutral Position Switch Circuit Part 2:






COMMENT
- If the selector lever is moved to "P" or "N" range and the ignition switch is turned to "START" position, battery positive voltage is supplied to PCM (terminal No. 58) through the ignition switch and park/neutral position switch. Because of this, the PCM detects that the engine is cranking.
- The park/neutral position switch detects the selector lever position (P, N or other ranges) and converts it to a voltage signal (high or low). Then the park/neutral position switch sends that signal to the PCM.

TROUBLESHOOTING HINTS (The most likely caused for this code to be set are:)
- Malfunction of the ignition switch.
- Malfunction of the park/neutral position switch.
- Improper connector contact, open circuit or short circuit in the harness wire.
- Malfunction of the PCM.

DIAGNOSIS




STEP 1. Check connector B-39 at park/neutral position switch for damage.

Q: Is the connector in good condition?

YES: Go to Step 2.

NO: Repair or replace it. Refer to Harness Connector Inspection. Then confirm that the malfunction symptom is eliminated.

STEP 2. Check the park/neutral position switch.
Refer to On-vehicle Service - Essential Service - Park/neutral position switch continuity check.

Q: Are there any abnormalities?

YES: Go to Step 3.

NO: Repair or replace it. Then confirm that the malfunction symptom is eliminated.

STEP 3. Measure the power supply voltage at park/neutral position switch connector B-39.




1. Disconnect the connector B-39 and measure at the harness side.
2. Turn the ignition switch to the "START" position.




3. Measure the voltage between terminal No. 10 and ground.
- Voltage should measure battery positive voltage.

4. Turn the ignition switch to the "LOCK" (OFF) position.

Q: Is battery positive voltage (approximately 12 volts) present?

YES: Go to Step 4.

NO: Check connector C-17 at intermediate connector for damage, and repair or replace as required. Refer to Harness Connector Inspection. If intermediate connector is in good condition, repair harness wire between ignition switch connector C-58 (terminal No. 5) and park/neutral position switch connector B-39 (terminal No. 10) because of open circuit. Then confirm that the malfunction symptom is eliminated.




STEP 4. Check connector C-40 at PCM for damage.

Q: Is the connector in good condition?

YES: Go to Step 5.

NO: Repair or replace it. Refer to Harness Connector Inspection. Then confirm that the malfunction symptom is eliminated.







STEP 5. Check for open circuit and short circuit to ground and harness damage between park/neutral position switch connector B-39 (terminal No. 9) and PCM connector C-40 (terminal No. 58).

Q: Is the harness wire in good condition?

YES: Replace the PCM. Then confirm that the malfunction symptom is eliminated.

NO: Repair it. Then confirm that the malfunction symptom is eliminated.