Operation CHARM: Car repair manuals for everyone.
Manuals through 2025 now available!

Our trusted friends have launched a new website named LEMON, which has newer manuals. It also contains all the CHARM manuals.

LEMON is the spiritual successor to CHARM, I recommend you try it!

Link: lemon-manuals.la or lemon-manuals.org.ua

(Some people have issue connecting. LEMON is investigating. For now, use Firefox or change your DNS server)

Or, hide this message: temporarily or permanently

Fuel Pump Module Replacement

FUEL PUMP MODULE REPLACEMENT
1. Remove the rear seat cushion assembly. (Refer to Rear Seat Assembly).
2. Remove the service hole cover.




3. Disconnect the harness connector.

NOTE: Check the fuel pump (Refer to On-vehicle Service). If defective, replace the fuel pump, which is incorporated in the fuel pump module.

4. Disconnect fuel high-pressure hose, suction hose and fuel return hose.

CAUTION: When withdrawing the fuel pump module from the fuel tank, be careful not damage the module unit and the float.




5. Unscrew the mounting nuts to remove the fuel pump module.
6. Replace the fuel pump.

CAUTION: When installing the fuel pump module into the fuel tank, be careful not damage the module unit and the float.




7. Install the fuel pump module. Tighten the mounting nuts to the specified torque.
Tightening torque: 2.5 ± 0.5 N-m (23 ± 4 in-lb)

CAUTION: Snap the fuel high-pressure hose one-touch joint into place, then pull back slightly on the hose to assure it is secure. However, the connection should have a play of approximately 3.0 mm (0.12 inch).




8. Connect the harness connector, fuel high-pressure hose, suction hose and fuel return hose.
9. Replace the service hole cover.
10. Install the rear seat cushion assembly (Refer to Rear Seat Assembly).

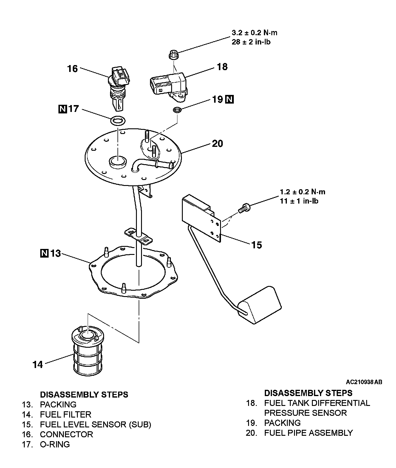
FUEL PUMP MODULE DISASSEMBLY AND ASSEMBLY

Fuel Pump Module Disassembly And Assembly Part 1:






Fuel Pump Module Disassembly And Assembly Part 2:






ASSEMBLY SERVICE POINT

>>A<< O-RING/GROMMET INSTALLATION
Apply gasoline on the O-ring and the grommet before mounting them to prevent damage or twisting.