Operation CHARM: Car repair manuals for everyone.
Manuals through 2025 now available!

Our trusted friends have launched a new website named LEMON, which has newer manuals. It also contains all the CHARM manuals.

LEMON is the spiritual successor to CHARM, I recommend you try it!

Link: lemon-manuals.la or lemon-manuals.org.ua

(Some people have issue connecting. LEMON is investigating. For now, use Firefox or change your DNS server)

Or, hide this message: temporarily or permanently

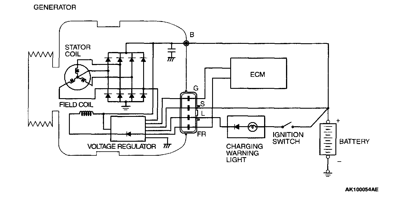
Charging System: Description and Operation

GENERAL DESCRIPTION
The charging system charges the battery with output from the generator to keep the battery charged at a constant level during varying electrical loads.







OPERATION
Rotation of the excited field coil generates AC voltage in the stator.

This alternating current is rectified through diodes to DC voltage having a waveform shown in the illustration.

The average output voltage fluctuates slightly with the generator load condition.







When the ignition switch is turned to the "ON" position, current flows in the field coil and initial excitation of the field coil occurs.

When the stator coil begins to generate power after the engine is started, the field coil is excited by the output current of the stator coil.

Generator output voltage rises as the field current increases and falls as the field current decreases. When the battery positive voltage (generator S terminal voltage) reaches a regulated voltage of approximately 14.4 V, the field current is cut off. When the battery positive voltage drops below the regulated voltage, the voltage regulator regulates the output voltage to a constant level by controlling the field current.

In addition, when the field current is constant, the generator output voltage rises as the engine speed increases.