Operation CHARM: Car repair manuals for everyone.
Manuals through 2025 now available!

Our trusted friends have launched a new website named LEMON, which has newer manuals. It also contains all the CHARM manuals.

LEMON is the spiritual successor to CHARM, I recommend you try it!

Link: lemon-manuals.la or lemon-manuals.org.ua

(Some people have issue connecting. LEMON is investigating. For now, use Firefox or change your DNS server)

Or, hide this message: temporarily or permanently

Inspection Procedure 26

Generator output voltage is low (approximately 12.3 volts).

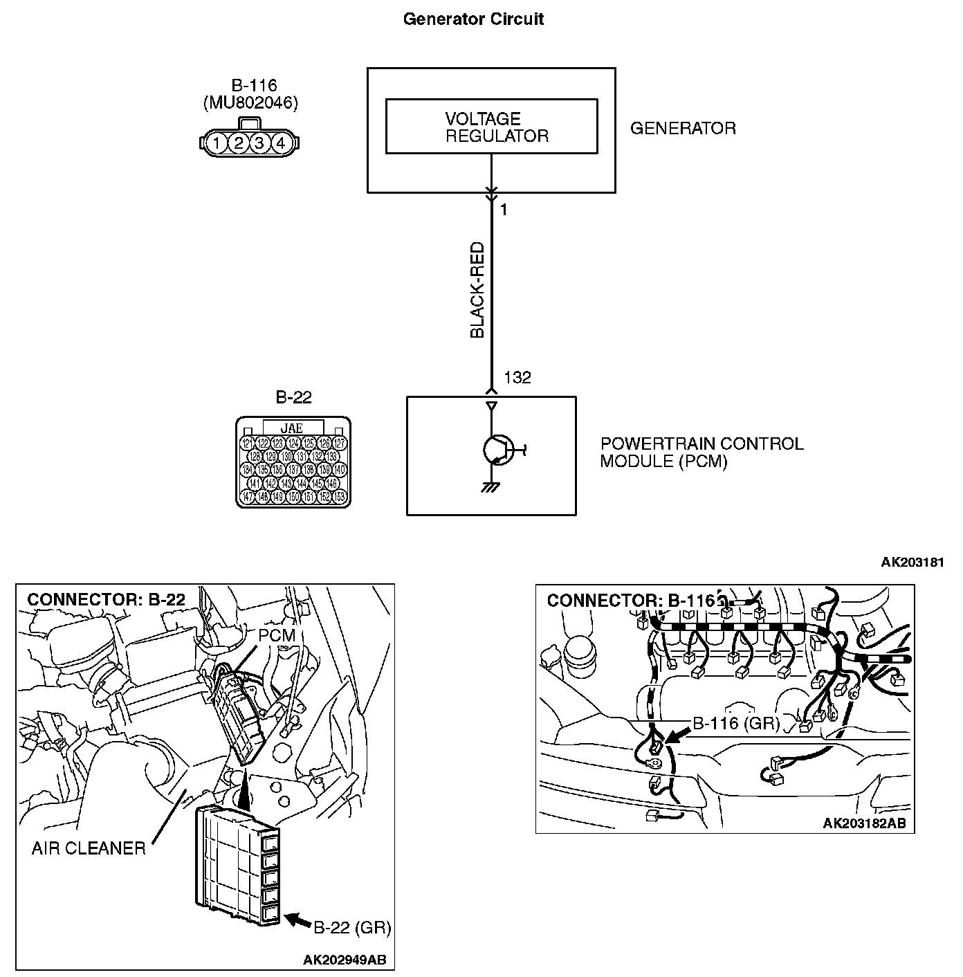
Generator Circuit:






CIRCUIT OPERATION
- The PCM controls generator out put current by duty-controlling continuity between the generator G terminal (terminal No. 1) and ground.

TROUBLESHOOTING HINTS (The most likely causes for this charging system:)
- Malfunction of the charging system.
- Short circuit in harness between generator G terminal and PCM.
- PCM failed.

DIAGNOSIS

Required Special Tool:
- MB991923: Power Train ECU Check Harness

STEP 1. Measure the voltage at PCM connector B-22 by using check harness special tool MB991923.







1. Disconnect the all PCM connectors and connect check harness special tool MB991923 between the separated connectors.
2. Start the engine and run at idle.




3. Measure the voltage between terminal No. 132 and ground.

NOTE: Vehicles for Canada, the headlight, taillight, etc.remain lit even when the lighting switch is in "OFF" position but this is no problem for checks.
a. Engine: warming up
b. Radiator fan: stopped
c. Headlight switch: OFF to ON
d. Rear defogger switch: OFF to ON
e. Stoplight switch: OFF to ON
- Voltage rises.

4. Turn the ignition switch to the "LOCK" (OFF) position.

Q: Is the measured voltage within the specified range?

YES: Go to Step 2.

NO: Replace the generator. Then confirm that the malfunction symptom is eliminated.







STEP 2. Check harness connector B-22 at PCM connector and harness connector B-116 at generator connector for damage.

Q: Is the connector in good condition?

YES: Go to Step 3.

NO: Repair or replace it. Refer to Harness Connector Inspection. Then confirm that the malfunction symptom is eliminated.







STEP 3. Check for open circuit and short circuit to ground and harness damage between generator connector B-116 (terminal No. 1) and PCM connector B-22 (terminal No. 132).

Q: Is the harness wire in good condition?

YES: Replace the PCM. Then confirm that the malfunction symptom is eliminated.

NO: Repair it. Then confirm that the malfunction symptom is eliminated.