Operation CHARM: Car repair manuals for everyone.
Manuals through 2025 now available!

Our trusted friends have launched a new website named LEMON, which has newer manuals. It also contains all the CHARM manuals.

LEMON is the spiritual successor to CHARM, I recommend you try it!

Link: lemon-manuals.la or lemon-manuals.org.ua

(Some people have issue connecting. LEMON is investigating. For now, use Firefox or change your DNS server)

Or, hide this message: temporarily or permanently

Inspection Procedure 4

The Malfunction Indicator Lamp (SERVICE ENGINE SOON or Check Engine Lamp) Remains Illuminated and Never Goes Out.

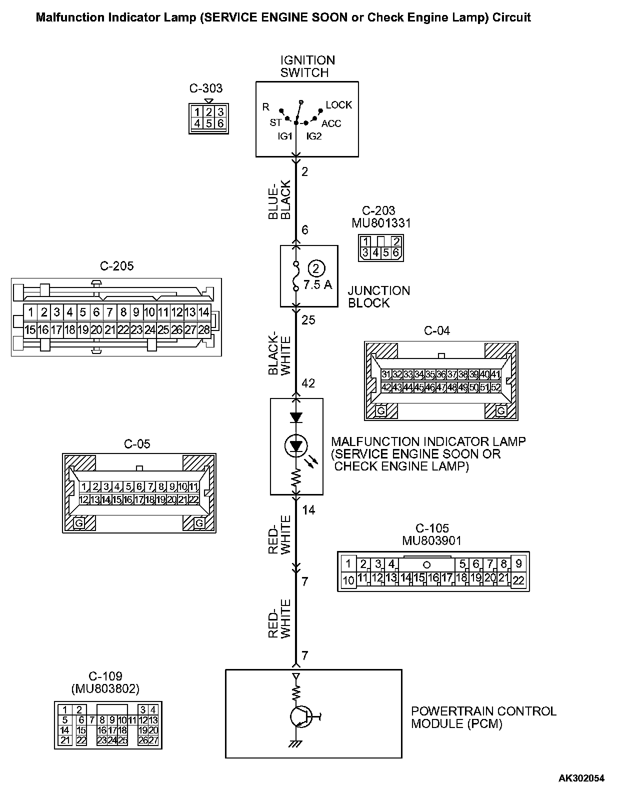
Malfunction Indicator Lamp (SERVICE ENGINE SOON Or Check Engine Lamp) Circuit Part 1:




Malfunction Indicator Lamp (SERVICE ENGINE SOON Or Check Engine Lamp) Circuit Part 2:






CIRCUIT OPERATION
- The malfunction indicator lamp (SERVICE ENGINE SOON or check engine lamp) power is supplied from the ignition switch.
- The PCM controls the ground of the malfunction indicator lamp (SERVICE ENGINE SOON or check engine lamp) by turning the power transistor in the PCM ON and OFF.

COMMENT
- In cases such as the above, the cause is probably that the PCM is detecting a problem in a sensor or actuator, or that one of the malfunctions listed at right has probably occurred.

TROUBLESHOOTING HINTS (The most likely causes for this case: )
- Short-circuit between the malfunction indicator lamp (SERVICE ENGINE SOON or check engine lamp) and PCM or connector damage.
- Malfunction of the PCM.

DIAGNOSIS

Required Special Tools:
- MB991958: Scan Tool (MUT-III Sub Assembly)
- MB991824: V.C.I.
- MB991827: USB Cable
- MB991911: Main Harness B




STEP 1. Using scan tool MB991958, read the diagnostic trouble code (DTC).

CAUTION: To prevent damage to scan tool MB991958, always turn the ignition switch to the "LOCK" (OFF) position before connecting or disconnecting scan tool MB991958.

1. Connect scan tool MB991958 to the data link connector.
2. Turn the ignition switch to the "ON" position.
3. Read the DTC.
4. Turn the ignition switch to the "LOCK" (OFF) position.

Q: Is the DTC set?

YES: Refer to Diagnostic Trouble Code Chart. Diagnostic Trouble Code Descriptions

NO: Go to Step. 2.

STEP 2. Check the continuity at combination meter harness side connector C-05.




1. Disconnect the connector C-05 and measure at the harness side.




2. Check for the continuity between terminal No. 14 and ground.
- Should be open loop.

Q: Does continuity exist?

YES: Replace the PCM. Then confirm that the malfunction symptom is eliminated.

NO: Check harness connectors C-105 at the intermediate connector for damage, and repair or replace as required. Refer to Harness Connector Inspection. If intermediate connectors is in good condition, repair harness wire between combination meter connector C-05 (terminal No. 14) and PCM connector C-109 (terminal No. 7) because of short circuit to ground. Then confirm that the malfunction symptom is eliminated.