Operation CHARM: Car repair manuals for everyone.
Manuals through 2025 now available!

Our trusted friends have launched a new website named LEMON, which has newer manuals. It also contains all the CHARM manuals.

LEMON is the spiritual successor to CHARM, I recommend you try it!

Link: lemon-manuals.la or lemon-manuals.org.ua

(Some people have issue connecting. LEMON is investigating. For now, use Firefox or change your DNS server)

Or, hide this message: temporarily or permanently

Inspection Procedure 3

The Malfunction indicator Lamp (SERVICE ENGINE SOON or Check Engine Lamp) Does Not Illuminate Right after the Ignition Switch is Turned to the "ON" Position.

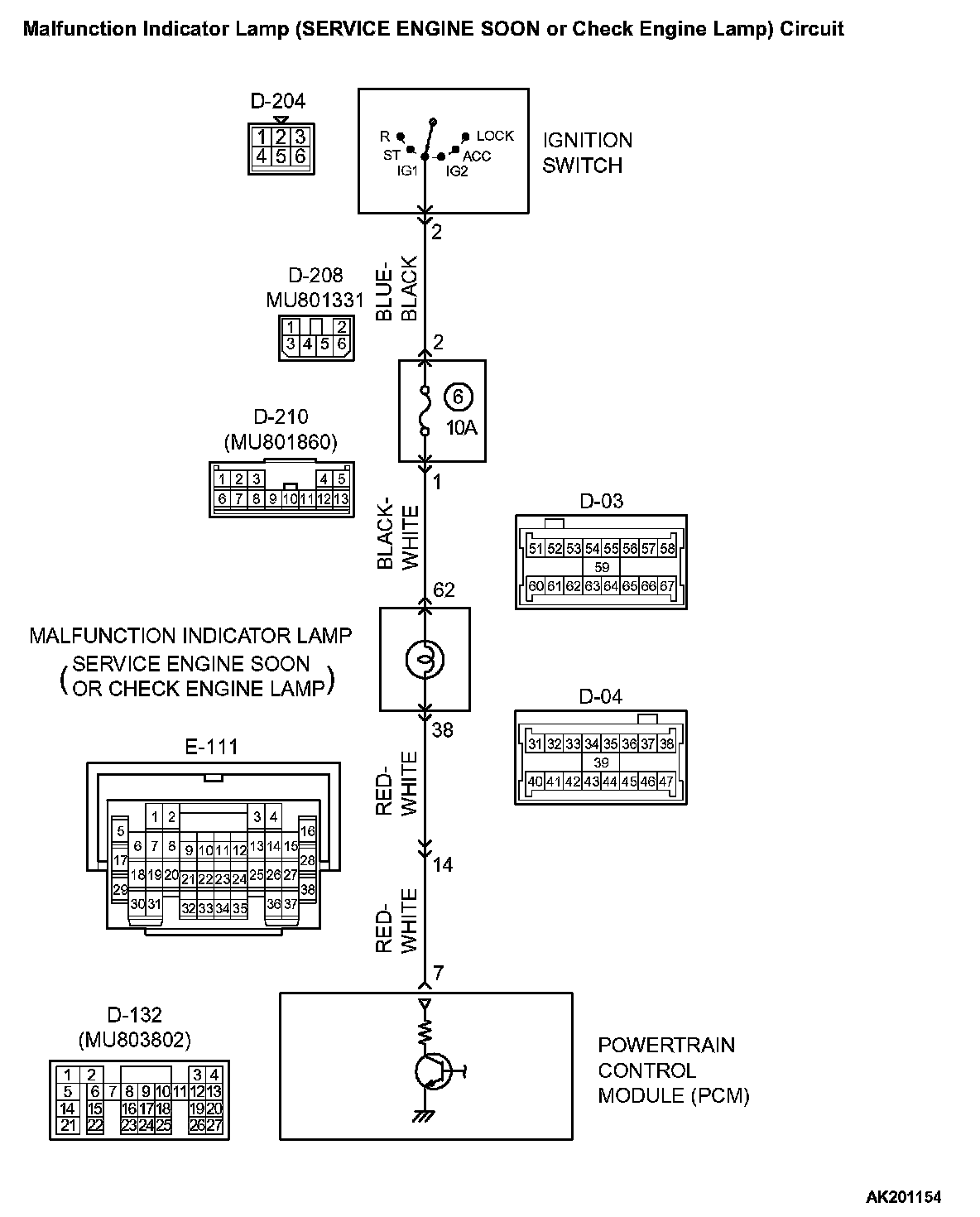
Malfunction Indicator Lamp (SERVICE ENGINE SOON Or Check Engine Lamp) Circuit Part 1:




Malfunction Indicator Lamp (SERVICE ENGINE SOON Or Check Engine Lamp) Circuit Part 2:






CIRCUIT OPERATION
- The malfunction indicator lamp (SERVICE ENGINE SOON or Check Engine Lamp) power is supplied from the ignition switch.
- The PCM controls the ground of the malfunction indicator lamp (SERVICE ENGINE SOON or Check Engine Lamp) by turning the power transistor in the PCM ON and OFF.

COMMENT
- The PCM causes the malfunction indicator lamp (SERVICE ENGINE SOON or Check Engine Lamp) to illuminate for 20 seconds immediately after the ignition switch is turned to the "ON" position occurred.

TROUBLESHOOTING HINTS (The most likely causes for this case:)
- Burnt-out bulb.
- Open malfunction indicator lamp (SERVICE ENGINE SOON or Check Engine Lamp) circuit, harness damage, or connector damage.
- Malfunction of the PCM.

DIAGNOSIS

Required Special Tools:
- MB991958: Scan Tool (MUT-III Sub Assembly)
- MB991824: V.C.I.
- MB991827: USB Cable
- MB991911: Main Harness B

STEP 1. Using scan tool MB991958, check data list item 16: Power Supply Voltage.

CAUTION: To prevent damage to scan tool MB991958, always turn the ignition switch to the "LOCK" (OFF) position before connecting or disconnecting scan tool MB991958.




1. Connect scan tool MB991958 to the data link connector.
2. Turn the ignition switch to the "ON" position.
3. Set scan tool MB991958 to the data reading mode for item 16, Power Supply Voltage.
- Voltage should be battery positive voltage.

4. Turn the ignition switch to the "LOCK" (OFF) position.

Q: Is battery positive voltage (approximately 12 volts) present?

YES: Go to Step 2.

NO: Refer to INSPECTION PROCEDURE 28 - Power Supply System and Ignition Switch-IG System.

STEP 2. Check the burned-out bulb.

Q: Is the bulb normal?

YES: Go to step 3.

NO: Replace the bulb. Then confirm that the malfunction symptom is eliminated.







STEP 3. Check harness connectors D-03 and D-04 at the combination meter for damage.

Q: Is the harness connector in good condition?

YES: Go to step 4.

NO: Repair or replace it. Refer to Harness Connector Inspection. Then confirm that the malfunction symptom is eliminated.

STEP 4. Measure the power supply voltage at combination meter harness side connector D-03.




1. Disconnect the connector D-03 and measure at the harness side.
2. Turn the ignition switch to the "ON" position.




3. Measure the voltage between terminal No.62 and ground.
- Voltage should be battery positive voltage.

4. Turn the ignition switch to the "LOCK" (OFF) position.

Q: Is battery positive voltage (approximately 12 volts) present?

YES: Go to Step 5.

NO: Check harness connectors D-210 and D-208 at intermediate connector for damage, and repair or replace as required. Refer to Harness Connector Inspection. If intermediate connectors D-210 and D-208 are in good condition, repair it because of open circuit between ignition switch connector D-204 (terminal No.2) and combination meter connector D-03 (terminal No.62). Then confirm that the malfunction symptom is eliminated.




STEP 5. Check harness connector D-132 at the PCM for damage.

Q: Is the harness connector in good condition?

YES: Go to Step 6.

NO: Repair or replace it. Refer to Harness Connector Inspection. Then confirm that the malfunction symptom is eliminated.

STEP 6. Measure the power supply voltage at PCM connector D-132.




1. Disconnect the connector D-132 and measure at the harness side.
2. Turn the ignition switch to the "ON" position.




3. Measure the voltage between terminal No.7 and ground.
- Voltage should be battery positive voltage.

4. Turn the ignition switch to the "LOCK" (OFF) position.

Q: Is battery positive voltage (approximately 12 volts) present?

YES: Replace the PCM. Then confirm that the malfunction symptom is eliminated.

NO: Check harness connector E-111 at intermediate connector for damage, and repair or replace as required. Refer to Harness Connector Inspection. If intermediate connector E-111 is in good condition, repair an open circuit between combination meter connector D-04 (terminal No.38) and PCM connector D-132 (terminal No.7). Then confirm that the malfunction symptom is eliminated.