Operation CHARM: Car repair manuals for everyone.
Manuals through 2025 now available!

Our trusted friends have launched a new website named LEMON, which has newer manuals. It also contains all the CHARM manuals.

LEMON is the spiritual successor to CHARM, I recommend you try it!

Link: lemon-manuals.la or lemon-manuals.org.ua

(Some people have issue connecting. LEMON is investigating. For now, use Firefox or change your DNS server)

Or, hide this message: temporarily or permanently

Inspection Procedure 32

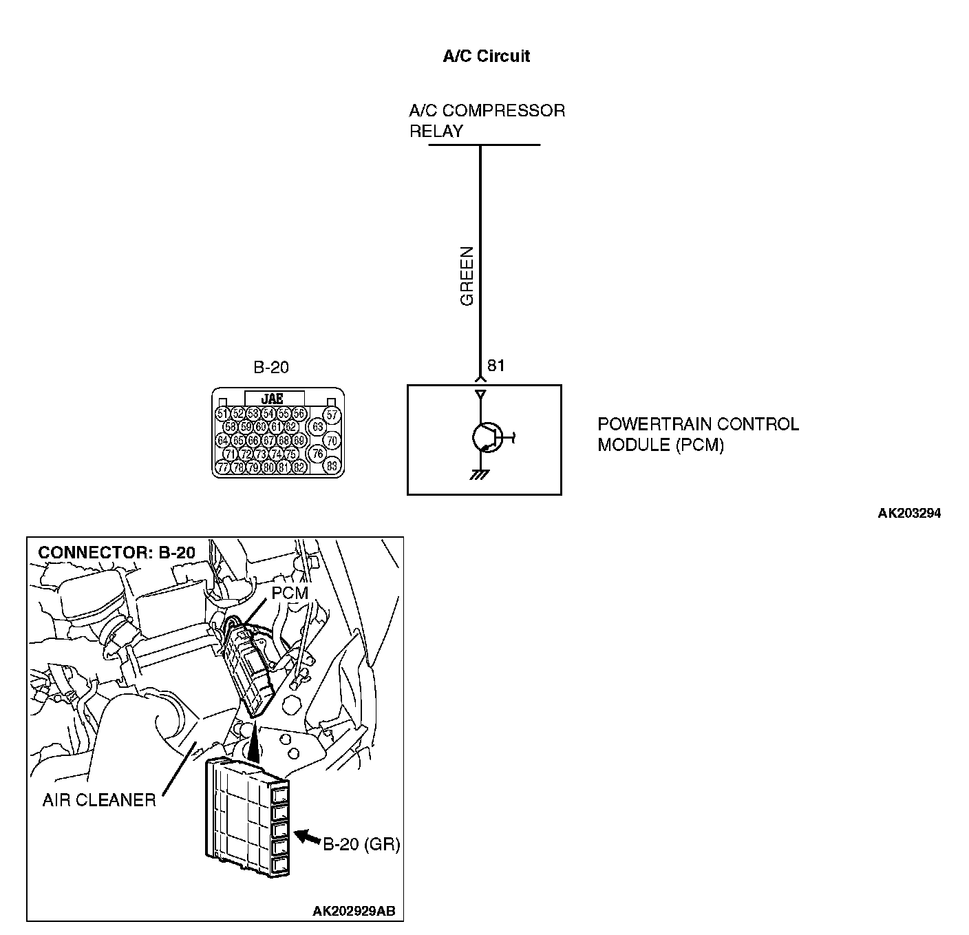
INSPECTION PROCEDURE 32: A/C system.

A/C Circuit:






COMMENT
- When the A/C is "ON" the PCM turns "ON" the power transistor in the PCM. The PCM delays A/C engagement momentarily while it increases idle rpm. Then the A/C compressor clutch relay coil will be energized.

With this, the A/C compressor clutch relay turns "ON", and the A/C compressor clutch operates.

TROUBLESHOOTING HINTS (The most likely causes for this case:)
- Malfunction of the A/C control system.
- Improper connector contact, open circuit or short-circuited harness wire.
- Malfunction of the PCM.

DIAGNOSIS




STEP 1. Check harness connector B-20 at PCM for damage.

Q: Is the harness connector in good condition?

YES: Go to Step 2.

NO: Repair or replace it. Then confirm that the malfunction symptom is eliminated.

STEP 2. Check the circuit at PCM connector B-20.




1. Disconnect the connectors B-20 and measure at the harness side.
2. Turn the ignition switch to the "ON" position.




3. Measure the voltage between terminal No. 81 and ground.
- Voltage should be battery positive voltage.

4. Using a jumper wire, connect terminal No. 81 to ground.
- A/C compressor relay should turn "ON".

5. Turn the ignition switch to the "LOCK" (OFF) position.

Q: Is the voltage and A/C compressor relay condition normal?

YES: Replace the PCM. Then confirm that the malfunction symptom is eliminated.

NO: Refer to Heating and air conditioning - Introduction To Heater, Air Conditioning And Ventilation Diagnosis in Heating and Air Conditioning. Then confirm that the malfunction symptom is eliminated.