Operation CHARM: Car repair manuals for everyone.
Manuals through 2025 now available!

Our trusted friends have launched a new website named LEMON, which has newer manuals. It also contains all the CHARM manuals.

LEMON is the spiritual successor to CHARM, I recommend you try it!

Link: lemon-manuals.la or lemon-manuals.org.ua

(Some people have issue connecting. LEMON is investigating. For now, use Firefox or change your DNS server)

Or, hide this message: temporarily or permanently

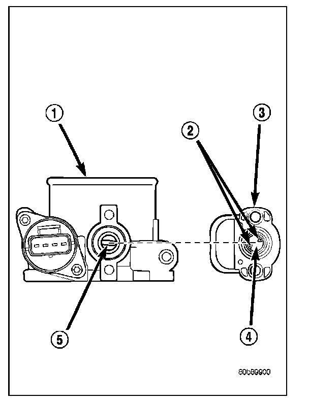
Throttle Position Sensor: Service and Repair

SENSOR - THROTTLE POSITION

REMOVAL




The TPS is located on the throttle body (2).
1. Remove air duct and tube at throttle body.
2. Disconnect TPS electrical connector.
3. Remove two TPS mounting bolt (screws) (5).
4. Remove TPS from throttle body.

INSTALLATION




The throttle shaft end of throttle body (5) slides into a socket in TPS (4). The TPS must be installed so that it can be rotated a few degrees. If sensor will not rotate, install sensor with throttle shaft on other side of socket tangs. The TPS will be under slight tension when rotated.
1. Install TPS and two retaining bolts.
2. Tighten bolts to 7 N.m (60 in. lbs.) torque.
3. Manually operate throttle control lever by hand to check for any binding of TPS.
4. Connect TPS electrical connector to TPS.
5. Install air duct/air box to throttle body.