Operation CHARM: Car repair manuals for everyone.
Manuals through 2025 now available!

Our trusted friends have launched a new website named LEMON, which has newer manuals. It also contains all the CHARM manuals.

LEMON is the spiritual successor to CHARM, I recommend you try it!

Link: lemon-manuals.la or lemon-manuals.org.ua

(Some people have issue connecting. LEMON is investigating. For now, use Firefox or change your DNS server)

Or, hide this message: temporarily or permanently

Wiper Control Module: Description and Operation

WIPER MODULE

DESCRIPTION






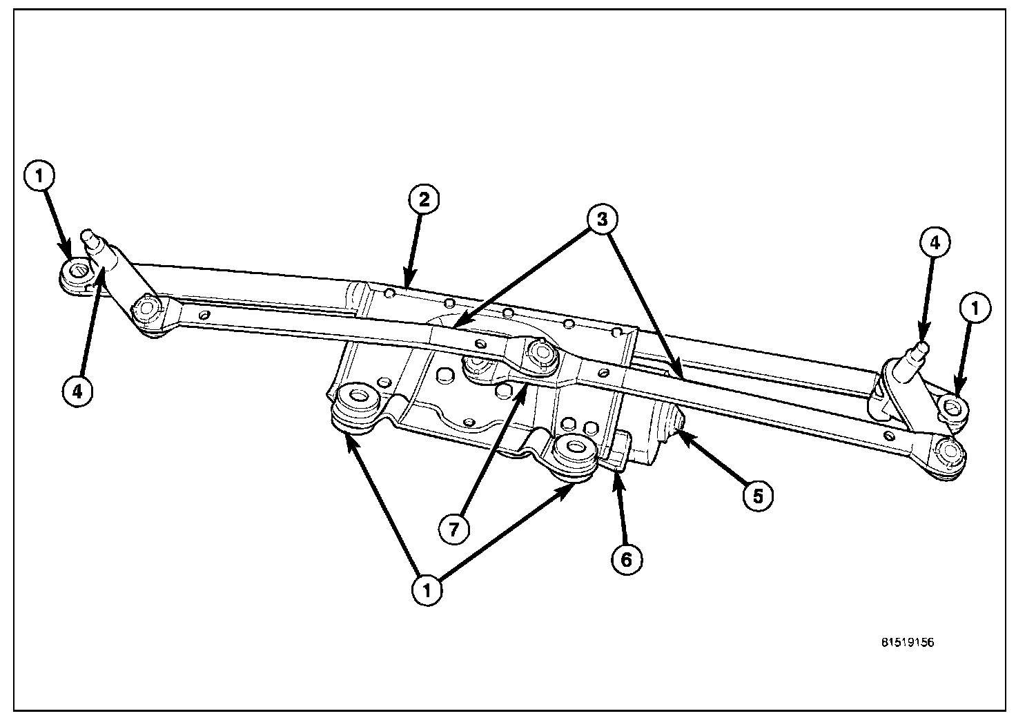
The wiper module is secured with screws through four rubber grommet-type insulators (1) to the cowl plenum panel. The module is concealed beneath the molded plastic cowl plenum cover/grille panel between the base of the windshield and the rear edge of the hood panel. The ends of the pivot shafts protruding through openings in the cowl plenum cover/grille panel to drive the wiper arms and blades are the only visible components of the wiper module. The wiper module consists of the following major components:

- Bracket - The wiper module bracket (2) consists of a long tubular steel main member that has a die cast pivot bracket at each end to which the two wiper pivots (4) are secured. A stamped steel motor bracket is welded near the center of the tubular member to which the wiper motor (5) is secured.

- Crank Arm (7) - The wiper motor crank arm is a stamped steel unit with a slotted hole on the driven end that is secured to the wiper motor output shaft with a nut, and has a ball stud secured to the drive end.

- Linkage (3) - Two stamped steel drive links connect the wiper motor crank arm to the wiper pivot lever arms. The right side drive link has a plastic socket-type bushing on each end. The left side drive link has a plastic socket-type bushing on one end, and a plastic sleeve-type bushing on the other end. The socket-type bushing on one end of each drive link is snap-fit over the ball stud on the lever arm of its respective pivot. The left side drive link sleeve-type bushing end is then fit over the motor crank arm ball stud, and the other socket-type bushing of the right side drive link is snap-fit over the exposed end of the wiper motor crank arm ball stud.

- Motor (5) - The wiper motor features a transmission housing from which the wiper motor output shaft exits and three threaded holes that mount the motor to the module bracket with three screws. A nut secures the wiper motor crank arm to the motor output shaft. The two-speed permanent magnet wiper motor features an integral transmission, an internal park switch, and an internal automatic resetting circuit breaker. A short pigtail wire and connector (6) connect the wiper motor to the vehicle electrical system through a dedicated take out and connector of the headlamp and dash wire harness.

- Pivots (4) - The two wiper pivots are secured within the die cast pivot brackets on the outboard ends of the wiper module main member. The lever arms that extend from the center of the pivot shafts each have a ball stud on their end. The upper end of each pivot shaft where the wiper arms will be fastened each has a serrated driver with a threaded stud. The lower ends of the pivot shafts are installed through lubricated bushings in the pivot brackets and are secured with snap rings.

The wiper module cannot be adjusted or repaired. If any component of the module is faulty or damaged, the entire wiper module unit must be replaced.

OPERATION

The wiper module operation is controlled by the battery current inputs received by the wiper motor through the wiper on/off and wiper high/low relays. The wiper motor speed is controlled by current flow to either the low speed or the high speed set of brushes. The park switch is a single pole, single throw, momentary switch within the wiper motor that is mechanically actuated by the wiper motor transmission components. The park switch alternately opens and closes the wiper park switch sense circuit to ground, depending upon the position of the wipers on the glass. This feature allows the motor to complete its current wipe cycle after the wiper system has been turned Off, and to park the wiper blades in the lowest portion of the wipe pattern. The automatic resetting circuit breaker protects the motor from overloads.

The wiper motor crank arm, the two wiper linkage members, and the two driven wiper pivots mechanically convert the rotary output of the wiper motor to the back and forth wiping motion of the wiper arms and blades on the glass.