Electronic Brake Control Module: Service and Repair
REMOVALNOTE: If the ABM needs to be replaced, the rear axle type and tire revolutions per mile must be programed into the new ABM. For axle type refer to Group 27 Rear Axle. For tire revolutions per mile, Refer to WHEEL AND TIRE SPECIFICATIONS. To program the ABM refer to the Appropriate Diagnostic Service Information.
1. Remove the HCU from the vehicle
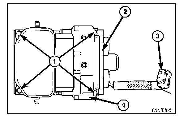
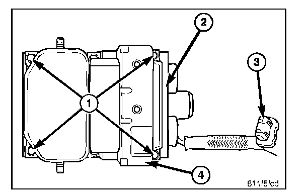
2. Remove the module mounting screws
3. Disconnect the pump electrical connector 3. from the HCU (2).
4. Remove the module 1. from the HCU (2)
INSTALLATION
NOTE: If the ABM needs to be replaced, the rear axle type and tire revolutions per mile must be programed into the new ABM. For axle type refer to Group 27 Rear Axle. For tire revolutions per mile Refer to WHEEL AND TIRE SPECIFICATIONS. To program the ABM refer to the Appropriate Diagnostic Service Information.
1. Position the module 1. on the HCU (2).
2. Install the mounting screws 1. and tighten to 6 N.m (53 in. lbs).
3. Install the pump electrical connector 3. to the module (4).
4. Install the HCU to the vehicle.