Operation CHARM: Car repair manuals for everyone.
Manuals through 2025 now available!

Our trusted friends have launched a new website named LEMON, which has newer manuals. It also contains all the CHARM manuals.

LEMON is the spiritual successor to CHARM, I recommend you try it!

Link: lemon-manuals.la or lemon-manuals.org.ua

(Some people have issue connecting. LEMON is investigating. For now, use Firefox or change your DNS server)

Or, hide this message: temporarily or permanently

Ignition Coil: Service and Repair

REMOVAL




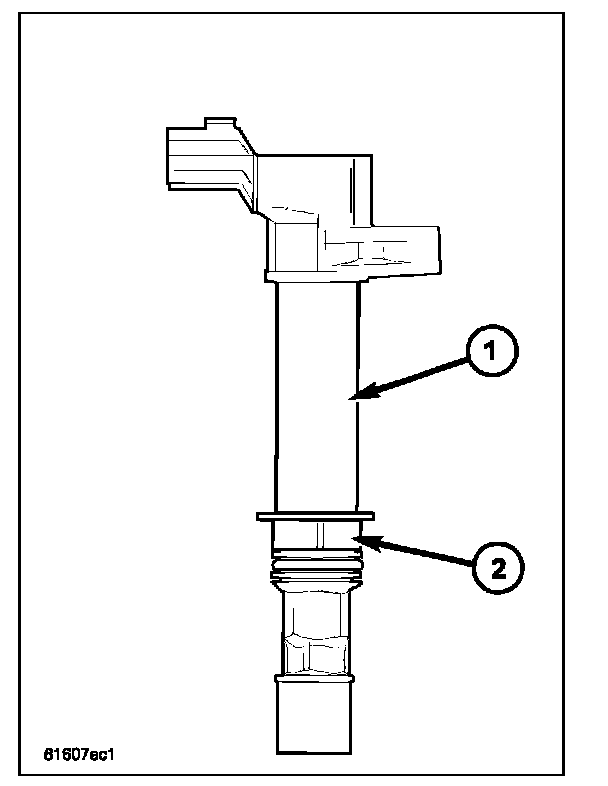
An individual ignition coil (1) is used for each spark plug. The coil fits into machined holes in the cylinder head. A mounting stud/nut (3) secures each coil to the top of the intake manifold. The bottom of the coil is equipped with a rubber boot to seal the spark plug to the coil. Inside each rubber boot is a spring. The spring is used for a mechanical contact between the coil and the top of the sparkplug. These rubber boots and springs are a permanent part of the coil and are not serviced separately. An O-ring is used to seal the coil at the opening into the cylinder head.

1. Depending on which coil is being removed, the throttle body air intake tube or intake box may need to be removed to gain access to coil.
2. Disconnect electrical connector (2) from coil by pushing downward on release lock on top of connector and pull connector from coil.
3. Clean area at base of coil with compressed air before removal.
4. Remove coil mounting nut (3) from mounting stud.
5. Carefully pull up coil from cylinder head opening with a slight twisting action.
6. Remove coil from vehicle.

INSTALLATION




1. Using compressed air, blow out any dirt or contaminants from around top of spark plug.
2. Check condition of coil O-ring (2) and replace as necessary. To aid in coil installation, apply silicone to coil O-ring (2).




3. Position ignition coil into cylinder head opening and push onto spark plug. Do this while guiding coil base over mounting stud.
4. Install coil mounting stud nut (3). Tighten to 8 N.m (70 in.lbs).
5. Connect electrical connector (2) to coil by snapping into position.
6. If necessary, install throttle body air tube.