Operation CHARM: Car repair manuals for everyone.
Manuals through 2025 now available!

Our trusted friends have launched a new website named LEMON, which has newer manuals. It also contains all the CHARM manuals.

LEMON is the spiritual successor to CHARM, I recommend you try it!

Link: lemon-manuals.la or lemon-manuals.org.ua

(Some people have issue connecting. LEMON is investigating. For now, use Firefox or change your DNS server)

Or, hide this message: temporarily or permanently

Manual

REGULATOR - WINDOW - MANUAL

REMOVAL






1. Remove the watershield.






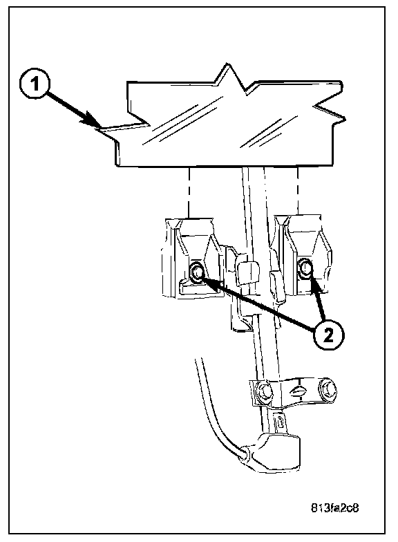
2. Reinstall the manual window crank and raise the door glass to the position shown (2).






3. Loosen the glass clamp screws (2).
4. Raise the glass into the full up position and secure into place with tape or equivalent.






5. Remove the two lower regulator bolts (5).
6. Remove the one bolt (1) at the crank mechanism (4).
7. Loosen the remaining three regulator bolts (3) located at the keyhole slots.
8. Lift regulator up and out of the keyhole slots and remove from door.

INSTALLATION






1. Place the regulator into the door and engage the bolts (5 and 3) into the keyhole slots in the door.
2. Install the regulator mechanism bolt (1).
3. Install the two lower bolts (5).
4. Tighten all the regulator bolts to 9.5 N.m (85 in.lbs.).






5. Remove the tape used to secure the glass during removal and position the glass (1) into the glass clamps.
6. Temporarily install the window crank handle and raise the glass into the full up position.
7. Tighten the glass clamp screws (2) securely.






8. Remove the manual window crank and install the watershield.