Operation CHARM: Car repair manuals for everyone.
Manuals through 2025 now available!

Our trusted friends have launched a new website named LEMON, which has newer manuals. It also contains all the CHARM manuals.

LEMON is the spiritual successor to CHARM, I recommend you try it!

Link: lemon-manuals.la or lemon-manuals.org.ua

(Some people have issue connecting. LEMON is investigating. For now, use Firefox or change your DNS server)

Or, hide this message: temporarily or permanently

Power

REGULATOR - WINDOW - POWER

REMOVAL






1. Remove the watershield.






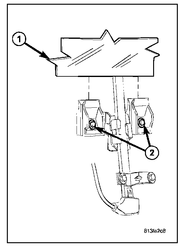
2. Temporarily install the window switch and position the glass (1) to gain access to the glass clamp screws (2).






3. Loosen the glass clamp screws (2).
4. Raise the glass (1) into the full up position and secure into place with tape or equivalent.






5. Disconnect the electrical connector (6).
6. Remove the two lower regulator bolts (5).
7. Remove the one bolt at the motor.
8. Loosen the remaining three regulator bolts (3 and 4) located at the keyhole slots.
9. Lift regulator up and out of the keyhole slots and remove from door.

INSTALLATION






1. Place the regulator into the door and engage the bolts (3 and 4) into the keyhole slots in the door (1).
2. Install the one bolt at the motor.
3. Install the two lower bolts (5).
4. Tighten all the regulator bolts to 9.5 N.m (85 in.lbs.).
5. Connect the electrical connector (6).






6. Remove the tape used to secure the glass during removal and position the glass (1) into the glass clamps.
7. Temporarily install the window switch and raise the glass into the full up position.
8. Tighten the glass clamp screws (2) securely.






9. Remove the window switch and install the watershield.