Operation CHARM: Car repair manuals for everyone.
Manuals through 2025 now available!

Our trusted friends have launched a new website named LEMON, which has newer manuals. It also contains all the CHARM manuals.

LEMON is the spiritual successor to CHARM, I recommend you try it!

Link: lemon-manuals.la or lemon-manuals.org.ua

(Some people have issue connecting. LEMON is investigating. For now, use Firefox or change your DNS server)

Or, hide this message: temporarily or permanently

Windshield: Service and Repair

WINDSHIELD

REMOVAL







1. Before proceeding with the following repair procedure, review all warnings and cautions.
2. Remove the screws (2) attaching the side windshield molding (1) to the a-pillars and remove the molding.







3. Remove rear view mirror (1). (Refer to - INTERIOR/MIRROR - INSIDE REARVIEW/REMOVAL)







4. Remove the cowl grille. (Refer to - EXTERIOR/PANEL - COWL TOP/REMOVAL)







5. Remove the a-pillar trim panels (3). (Refer to - INTERIOR/PANEL - A PILLAR TRIM/REMOVAL)







6. Remove the headliner (6). (Refer to - INTERIOR/HEADLINER/REMOVAL)







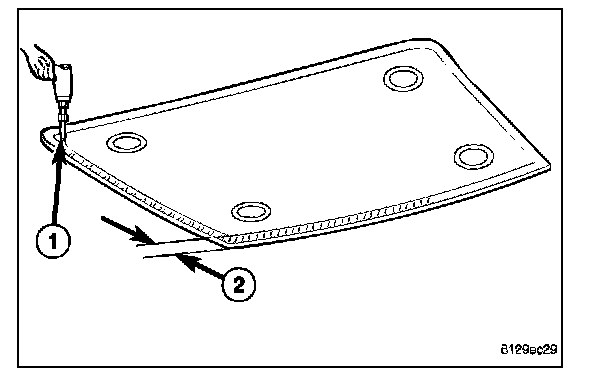
7. Using a windshield cut-out wire (4) or equivalent, separate the adhesive (2).
8. Carefully remove windshield.

INSTALLATION

WARNING: Allow the urethane at least 24 hours to cure before returning the vehicle to use.

CAUTION: Roll down the left and right front door glass and open the rear glass slider (if available) before installing windshield to avoid pressurizing the passenger compartment if a door is slammed before urethane is cured. Water leaks can result.

NOTE: The windshield fence should be cleaned of most of its old urethane bonding material. A small amount of old urethane, approximately 1-2 mm in height, should remain on the fence. Do not grind off or completely remove all old urethane from the fence, the paint finish and bonding strength will be adversely affected. Support spacers located on the cowl at the bottom of the windshield opening should be replaced with new parts. Replace any missing or damaged spacers around the perimeter of the windshield opening.

Windshield Preparation - Installing A Previously Installed Windshield







1. Before proceeding with the following repair procedure, review all warnings and cautions.
2. Level old bead of windshield adhesive (3) to a thickness of approximately 1 mm (0.04 in.) and remove loose adhesive.







3. Apply four new spacers (1) to the a-pillars and place them evenly apart at the top and bottom.
4. Install the lower spacer assemblies (2) into the slotted holes and verify proper installation by pulling to make sure they are locked on.

NOTE: Lower spacers must be facing with the flat side upwards when installing into the slotted holes.







5. Position windshield (1) in center of windshield opening and resting on the side and lower spacers (2).
6. Adjust the lower spacers (2) as required, to center the windshield in the windshield opening.







7. Apply adhesive tape (1) to the locations shown to aid with final installation.
8. Verify windshield gap is parallel to with windshield.
9. Cut tape with a sharp knife and remove windshield.







NOTE: Typical primer installation shown.

10. Clean and dry area of glass (2) to be re-glued with a suitable glass preparation solvent and rag.
11. Using a flash light, verify that glass primer is without damage.
12. Re-prime any damaged area. If old adhesive has been exposed for more than 12 hours, entire adhesive area needs to be re-primed.







13. Apply primer (1) around the perimeter of the glass to a width of 15 mm (0.5 in.) (2).
14. Allow primer to air dry for at least 10 minutes.
15. Using a flash light, verify that glass primer is without damage.

Windshield Preparation - Installing A New Windshield







1. Apply four new spacers (1) to the a-pillars and place them evenly apart at the top and bottom.
2. Install the lower spacer assemblies (2) into the slotted holes and verify proper installation by pulling to make sure they are locked on.

NOTE: Lower spacers must be facing with the flat side upwards when installing into the slotted holes.







3. Position windshield (1) in center of windshield opening and resting on the side and lower spacers (2).
4. Adjust the lower spacers (2) as required, to center the windshield in the windshield opening.







5. Clean and check windshield for damage.
6. Position windshield in center of windshield opening.
7. Apply adhesive tape to the locations shown to aid with final installation.
8. Verify windshield gap is parallel to with windshield.
9. Cut tape with a sharp knife and remove windshield.







10. Clean and dry area of glass to be glued with a suitable glass preparation solvent and rag.
11. Apply primer to gluing surface at windshield seal.







12. Apply primer (1) around the perimeter of the glass to a width of 15 mm (0.5 in.) (2).
13. Allow primer to air dry for at least 10 minutes.
14. Using a flash light, verify that glass primer is without damage.

Windshield Opening Preparation







1. Clean and vacuum windshield opening.
2. Level old bead of windshield opening adhesive (1) to a thickness of approximately 1 mm (0.04 in.) and remove loose adhesive.







3. Clean and dry area of windshield opening to be re-glued with a suitable glass preparation solvent and rag.
4. Re-prime any damaged area. If old adhesive has been exposed for more than 12 hours, entire adhesive area needs to be re-primed.
5. Allow primer to air dry for at least 10 minutes.

Windshield Installation







1. Apply bead of adhesive (1) with a triangular nozzle directly to the windshield seal starting at bottom in center of windshield.

CAUTION:
- Always apply bead of adhesive to the windshield.
- Always install the windshield within 5 minutes after applying adhesive.








2. Bead dimensions should be approximately 9.5 - 12.0 mm wide (1) by 12.7 - 14.0 mm in height (2).







3. Allow end of adhesive bead to run out parallel to the start of the bead and smooth ends flush.







4. Lift windshield into place in the center of the windshield opening and use the tape as a guide to aid installation of the windshield into the center of the cutout.
5. Carefully lay down windshield and press on.

CAUTION:
- It is no longer possible to move the windshield after installation. The windshield should never be pressed into place by more than one person, because the windshield can break if pressed simultaneously on both sides.
- Roll down the left and right front door glass and open the rear glass slider (if available) before installing windshield to avoid pressurizing the passenger compartment if a door is slammed before urethane is cured. Water leaks can result.








6. Install the headliner (6). (Refer to - INTERIOR/HEADLINER/INSTALLATION)







7. Install the a-pillar trim (3). (Refer to - INTERIOR/PANEL - A PILLAR TRIM/INSTALLATION)







8. Install the cowl grille. (Refer to - EXTERIOR/PANEL - COWL TOP/INSTALLATION)







9. Install the rearview mirror (1). (Refer to - INTERIOR/MIRROR - INSIDE REARVIEW/INSTALLATION[REARVIEW MIRROR])







10. Install the windshield molding retainer (1) and install the screws (2).