Operation CHARM: Car repair manuals for everyone.
Manuals through 2025 now available!

Our trusted friends have launched a new website named LEMON, which has newer manuals. It also contains all the CHARM manuals.

LEMON is the spiritual successor to CHARM, I recommend you try it!

Link: lemon-manuals.la or lemon-manuals.org.ua

(Some people have issue connecting. LEMON is investigating. For now, use Firefox or change your DNS server)

Or, hide this message: temporarily or permanently

Timing Belt: Service and Repair

REMOVAL AND INSTALLATION

Pre-removal & Post-installation Operation:




Removal Steps 1-12:




Removal Steps 13-21:





Required Special Tools:
^ MB991800: Pulley Holder
^ MB991802: Pin B
^ MD998767: Tension Pulley Socket Wrench
^ MD998769: Crankshaft Pulley Spacer

REMOVAL SERVICE POINTS

[[A]] CRANKSHAFT PULLEY REMOVAL

CAUTION
Use only the specified special tools, or a damaged pulley damper could result.






Use special tools MB991800 and MB991802 to remove the crankshaft pulley from the crankshaft.

[[B]] TIMING BELT REMOVAL

CAUTION
Never turn the crankshaft counterclockwise.






1. Turn the crankshaft clockwise to align each timing mark and to set the number 1 cylinder to compression top dead center.
2. If the timing belt is to be reused, chalk an arrow on the flat side of the belt, indicating the clockwise direction.
3. Loosen the center bolt of the tensioner pulley, then remove the timing belt.

INSTALLATION SERVICE POINTS

]]A[[ AUTO-TENSIONER INSTALLATION
[In case that the amount of rod protrusion is 5 mm with the set pin inserted.]
1. If the auto-tensioner rod remains fully extended, set according to the following procedure.

CAUTION
Place the auto-tensioner perpendicular to the jaws of the vice.






1) Place two dolly blocks in a vice as shown in the illustration, and then place the auto-tensioner in the vice.

CAUTION
Never compress the pushrod too fast, or it may be damaged.






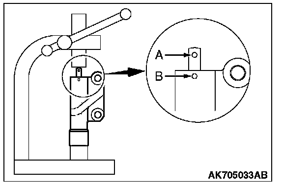
2) Slowly compress the pushrod of the auto-tensioner until pin hole A in the pushrod is aligned with pin hole B in the cylinder.
3) Insert the set pin into the pin holes once they are aligned.

NOTE: If replacing the auto-tensioner, the pin will already be inserted into the pin holes of the new part.

CAUTION
Do not remove the setting pin from the auto-tensioner.


4) Install the auto-tensioner to the engine.

]]B[[ AUTO-TENSIONER INSTALLATION
[In case that the amount of rod protrusion is 1 mm with the set pin inserted.]

CAUTION
^ If the lateral type press is used, the appropriate air bleeding is not carried out. Always use longitudinal type press.
^ To prevent damage to the auto tensioner, do not apply the load of 5,000 N (1,124 lb) or more.
^ To prevent damage to the auto tensioner, do not press the rod below the cylinder end plane.






1. Set the auto tensioner to the longitudinal type press as shown in the illustration.
2. Push in the rod little by little with the longitudinal type press until set hole A in the rod is aligned with hole B in the cylinder.

CAUTION
To prevent the air from being incorporated, keep the auto tensioner with its rod upward after the air bleeding.


3. Insert the set pin into the set holes. This auto-tensioner setting pin will be used during timing belt alignment.

]]C[[ TIMING BELT INSTALLATION
[In case that the amount of rod protrusion is 5 mm with the set pin inserted.]





1. Align the timing marks on the camshaft sprockets with those on the rocker cover and the timing mark on the crankshaft sprocket with that on the engine block as shown in the illustration.

CAUTION
The camshaft sprocket (right bank) can turn easily due to the spring force applied, so be careful not to get your fingers caught.


2. Install the timing belt by the following procedure so that there is no deflection in the timing belt between each sprocket and pulley.
1) Crankshaft sprocket
2) Idler pulley
3) Camshaft sprocket (Left bank)
4) Water pump pulley
5) Camshaft sprocket (Right bank)
6) Tensioner pulley
3. Turn the camshaft sprocket (Right bank) counterclockwise until the tension side of the timing belt is firmly stretched. Check all the timing marks again.





4. Use special tool MD998767 to push the tensioner pulley into the timing belt, then temporarily tighten the center bolt.





5. Use special tool MD998769 to turn the crankshaft 1/4 turn counterclockwise, then turn it again clockwise until the timing marks are aligned.

CAUTION
When tightening the center bolt, be careful that the tensioner pulley does not turn with the bolt.






6. Loosen the center bolt of the tensioner pulley. Use special tool MD998767 and a torque wrench to apply the tension torque to the timing belt as shown in the illustration. Then tighten the center bolt to the specified torque.
Standard value: 4.4 Nm (39 in-lb) [timing belt tension torque]
Tightening torque: 48 ± 6 Nm (36 ± 4 ft-lb).





7. Remove the set pin that has been inserted into the auto-tensioner.
8. Turn the crankshaft clockwise twice to align the timing marks.





9. Wait for at least five minutes, then check that the auto-tensioner pushrod extends within the standard value range.
Standard value (A): 4.8 - 6.0 mm (0.19 - 0.24 inch)
10. If not, repeat steps 1 through 8 above.
11. Check again that the timing marks of the sprockets are aligned.

]]D[[ TIMING BELT INSTALLATION
[In case that the amount of rod protrusion is 1 mm with the set pin inserted.]





1. Align the timing marks on the camshaft sprockets with those on the rocker cover and the timing mark on the crankshaft sprocket with that on the engine block as shown in the illustration.

CAUTION
The camshaft sprocket (right bank) can turn easily due to the spring force applied, so be careful not to get your fingers caught.


2. Install the timing belt by the following procedure so that there is no deflection in the timing belt between each sprocket and pulley.
1) Crankshaft sprocket
2) Idler pulley
3) Camshaft sprocket (Left bank)
4) Water pump pulley
5) Camshaft sprocket (Right bank)
6) Tensioner pulley
3. Turn the camshaft sprocket (Right bank) counterclockwise until the tension side of the timing belt is firmly stretched. Check all the timing marks again.





4. Insert the hexagonal wrench having the width of 5 mm (0.20 inch) between the auto-tensioner and tensioner arm.





5. Inserting the hexagonal wrench, use special tool MD998767 to push the tensioner pulley into the timing belt, then temporarily tighten the center bolt.





6. Use special tool MD998769 to turn the crankshaft 1/4 turn counterclockwise, then turn it again clockwise until the timing marks are aligned.

CAUTION
When tightening the center bolt, be careful that the tensioner pulley does not turn with the bolt.






7. Inserting the hexagonal wrench, loosen the center bolt of the tensioner pulley. Use special tool MD998767 and a torque wrench to apply the tension torque to the timing belt as shown in the illustration. Then tighten the center bolt to the specified torque.
Standard value: 4.4 Nm (39 in-lb) [timing belt tension torque]
Tightening torque: 48 ± 6 Nm (36 ± 4 ft-lb).

CAUTION
If the hexagonal wrench is removed first, the timing belt would possibly become loose and come off the tooth.






8. Remove the set pin that has been inserted into the auto-tensioner.





9. Pull out the hexagonal wrench.
10. Turn the crankshaft clockwise twice to align the timing marks.





11. Wait for at least five minutes, then check that the auto-tensioner pushrod extends within the standard value range.
Standard value (A): 4.8 - 6.0 mm (0.19 - 0.24 inch)
12. If not, repeat steps 1 through 10 above.
13. Check again that the timing marks of the sprockets are aligned.

]]E[[ CRANKSHAFT PULLEY INSTALLATION





Use special tools MB991800 and MB991802 to install the crankshaft pulley.

INSPECTION

AUTO-TENSIONER CHECK
1. Check for oil leak from seal, and replace it if leak is detected.
2. Check for wear or damage at the top of the rod. Replace it, if required.





3. While holding the auto-tensioner with your hand, press the end of the pushrod against a metal surface (such as the cylinder block) with a force of 98 - 196 N (22 - 44 pounds) and measure how far the pushrod is pushed in.
Standard value: Within 1 mm (0.04 inch)
A: Length when no force is applied
B: Length when force is applied
A-B: Movement in
4. If the measured value is out of the standard value, replace the auto-tensioner.

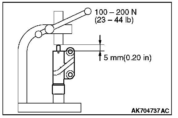
AIR BLEEDING PROCEDURE OF AUTO-TENSIONER
[In case that the amount of rod protrusion is 1 mm with the set pin inserted.]
When the auto tensioner is not kept with its rod upward, or when the set pin having [diameter]2 mm (0.08 inch) is pulled out before the installation to the engine, carry out the air bleeding as follows.

CAUTION
^ If the lateral type press is used, the appropriate air bleeding is not carried out. Always use longitudinal type press.
^ To prevent damage to the auto tensioner, do not apply the load of 5,000 N (1,124 lb) or more.
^ To prevent damage to the auto tensioner, do not press the rod below the cylinder end plane.






1. Set the auto tensioner to the longitudinal type press as shown in the illustration.
2. Slowly press down the rod, two or three times, to the cylinder end plane.
3. When the rod protrusion has approximately 5 mm (0.20 inch), apply the load of 100 - 200 N (23 - 44 lb). Check whether the auto tensioner has sufficient stiffness.
4. If the auto tensioner does not have sufficient stiffness, replace the auto tensioner.

CAUTION
To prevent the air from being incorporated, keep the auto tensioner with its rod upward after the air bleeding.


5. Slowly pressing down the rod, insert the set pin having [diameter]2mm (0.08 inch) through the hole to fix the auto tensioner.