Operation CHARM: Car repair manuals for everyone.
Manuals through 2025 now available!

Our trusted friends have launched a new website named LEMON, which has newer manuals. It also contains all the CHARM manuals.

LEMON is the spiritual successor to CHARM, I recommend you try it!

Link: lemon-manuals.la or lemon-manuals.org.ua

(Some people have issue connecting. LEMON is investigating. For now, use Firefox or change your DNS server)

Or, hide this message: temporarily or permanently

Windshield: Service and Repair

WINDSHIELD

REMOVAL AND INSTALLATION


Pre-removal & Post-installation Operation:




Removal Steps 1-4 (Part 1):




Removal Steps 1-4 (Part 2):






Required Special Tool:
- MB990480: Glass Holder

REMOVAL SERVICE POINT

[[A]] WINDSHIELD REMOVAL

1. To protect the body (paint surface), apply cloth tape to all body areas around the installed windshield.
2. Make mating marks on the windshield and body.







3. Using piano wire.
1. Using a sharp-point drill, make a hole in the windshield adhesive.
2. Pass the piano wire from the inside of the vehicle through the hole.

CAUTION: Do not let the piano wire touch the edge of the windshield.

3. Pull the piano wire alternately from the inside and outside along the windshield to cut the adhesive.










CAUTION: Inserting the glass adhesive knife too deeply into windshield adhesive may damage windshield.

4. Using glass adhesive knife Keep glass adhesive knife at right angles with the windshield edge, and put the blade at windshield edge and surface. Then cut away adhesive along the windshield edge.







5. Use special tool MB990480 to remove the windshield.







CAUTION:
- Be careful not to remove more adhesive than is necessary.
- Be careful also not to damage the paint on the body surface with the knife. If the paint is damaged, repair the damaged area with touch-up paint.


6. Use a knife to cut away the remaining adhesive so that the thickness is within 2 mm (0.08 inch) around the entire circumference of the body flange.
7. Finish the flange surfaces so that they are smooth.

CAUTION: Allow the cleaned area to dry for at least three minutes. Do not touch any surface that has been cleaned.

8. When reusing the windshield, remove the adhesive still adhering to the windshield, and clean with 3M(TM) AAD Part number 8880 or equivalent.
9. Clean the body side in the same way.

INSTALLATION SERVICE POINTS

]]A[[ WINDSHIELD SPACER/GLASS STOPPER/ WINDSHIELD MOLDING INSTALLATION

CAUTION: Leave the degreased parts for 3 or more minutes to dry well, before starting on the next step. Do not touch the degreased parts.

1. Use 3M(TM) AAD Part number 8880 or equivalent to degrease the inside and outside of the windshield and the body flanges.


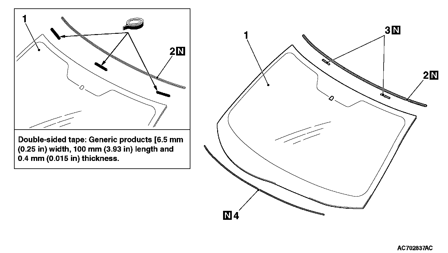
Windshield Spacer And Glass Stopper Installation Position:






2. Install the windshield spacer and glass stoppers to the specified positions so that there are no adrift or warped surfaces inside the windshield.


Double-sided Tape Installation Positions:






3. Install the double-sided tape to the windshield.
4. Install the windshield molding to the windshield.

]]B[[ WINDSHIELD INSTALLATION

1. When replacing the windshield, temporarily set the windshield against the body, and place a mating mark on the windshield and body.

CAUTION:
- The primer strengthens the adhesive, so be sure to apply it evenly around the entire circumference. However, a too thick application will weaken the adhesive.
- Do not touch the coated surface.
- Do not apply the primer on the remaining adhesive because of weakening the adhesive.


2. Soak a sponge in the primer, and apply evenly to the windshield and the body in the specified places.
3. Allow the windshield to dry for at least three minutes after applying primer.







4. Fill a sealant gun with adhesive. Then apply the adhesive evenly around the windshield within 30 minutes after applying the primer.

NOTE: Cut the tip of the sealant gun nozzle into a V shape to simplify adhesive application.

5. Align the mating marks on the windshield and the body, and lightly press the windshield evenly so that it adheres completely.
6. Use a spatula or similar tool to remove any excessive adhesive. Clean the surface with 3M(TM) AAD Part number 8880 or equivalent. Avoid moving the vehicle until the adhesive sets.

CAUTION:
- Do not move the vehicle unless absolutely necessary.
- When testing for water leakage, do not apply strong water pressure.


7. Wait 30 minutes or more, and then test for water leakage.