Operation CHARM: Car repair manuals for everyone.
Manuals through 2025 now available!

Our trusted friends have launched a new website named LEMON, which has newer manuals. It also contains all the CHARM manuals.

LEMON is the spiritual successor to CHARM, I recommend you try it!

Link: lemon-manuals.la or lemon-manuals.org.ua

(Some people have issue connecting. LEMON is investigating. For now, use Firefox or change your DNS server)

Or, hide this message: temporarily or permanently

Inspection Procedure 32

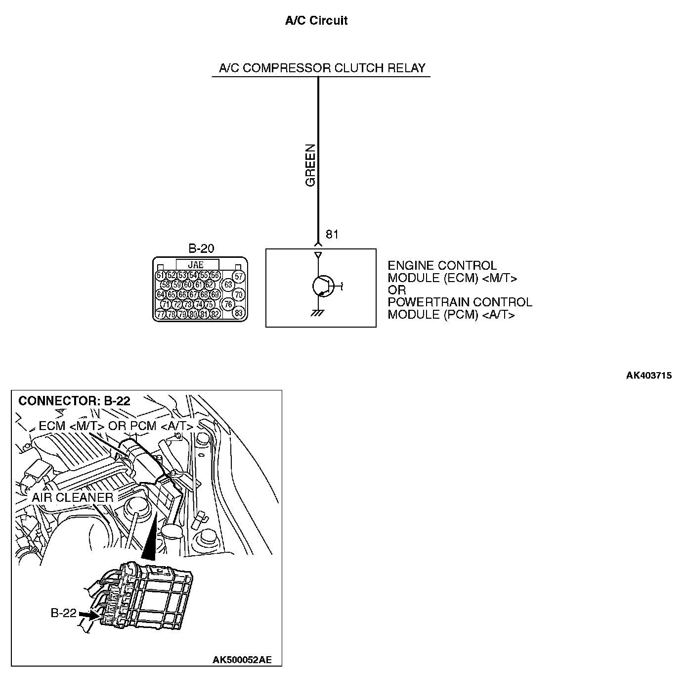
INSPECTION PROCEDURE 32: A/C system


A/C Circuit:






COMMENT
- When the A/C is "ON" the ECM [M/T] or the PCM [A/T] turns "ON" the power transistor in the ECM [M/T] or the PCM [A/T]. The ECM [M/T] or the PCM [A/T] delays A/C engagement momentarily while it increases idle r/min. Then the A/C compressor clutch relay coil will be energized.
With this, the A/C compressor clutch relay turns "ON", and the A/C compressor clutch operates.

TROUBLESHOOTING HINTS (The most likely causes for this case: )
- Malfunction of the A/C control system.
- Improper connector contact, open circuit or short-circuited harness wire.
- Malfunction of the ECM [M/T] or the PCM [A/T].

DIAGNOSIS

STEP 1. Check harness connector B-20 at ECM [M/T] or PCM [A/T] for damage.







Q: Is the harness connector in good condition?

YES : Go to Step 2.

NO : Repair or replace it. Then confirm that the malfunction symptom is eliminated.

STEP 2. Check the circuit at ECM [M/T] or PCM [A/T] connector B-20.







1. Disconnect the connectors B-20 and measure at the harness side.
2. Turn the ignition switch to the "ON" position.







3. Measure the voltage between terminal No. 81 and ground.
- Voltage should be battery positive voltage.

4. Using a jumper wire, connect terminal No. 81 to ground.
- A/C compressor clutch relay should turn "ON".

5. Turn the ignition switch to the "LOCK" (OFF) position.

Q: Is the voltage and A/C compressor relay condition normal?

YES : Replace the ECM or the PCM. When the ECM or the PCM is replaced, register the encrypted code. Then confirm that the malfunction symptom is eliminated.

NO : Refer to, Manual A/C Diagnosis - Introduction To Heater, Air Conditioning And Ventilation Diagnosis, Manual A/C Diagnosis(Manual A/C), Automatic A/C Diagnosis - Introduction To Heater, Air Conditioning And Ventilation Diagnosis Automatic A/C Diagnosis (Automatic A/C). Then confirm that the malfunction symptom is eliminated.