Inspection Procedure P-7
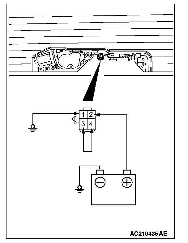
INSPECTION PROCEDURE P-7: ETACS-ECU Does Not Receive An Auto-Stop Signal From The Rear Wiper Motor.Rear Wiper Auto-Stop Signal Input (Part 1):
Rear Wiper Auto-Stop Signal Input (Part 2):
CIRCUIT OPERATION
The ETACS-ECU makes the rear wiper stop at the predetermined park position according to the auto-stop signal from the rear wiper motor.
TECHNICAL DESCRIPTION (COMMENT)
If this signal is not normal, the rear wiper does not stop at the predetermined park position.
TROUBLESHOOTING HINTS
- The rear wiper motor may be defective
- The wiring harness or connectors may have loose, corroded, or damaged terminals, or terminals pushed back in the connector
- The ETACS-ECU may be defective
DIAGNOSIS
Required Special Tool:
- MB991223: Harness Set
- MB992006: Extra Fine Probe
STEP 1. Check the rear wiper.
Q: Does the rear wiper motor operate (however, the rear wiper does not stop at the predetermined park position)?
YES: Go to Step 2.
NO: Refer to Inspection Procedure H-1 "Rear wiper does not work at all". Inspection Procedure H-1
STEP 2. Check rear wiper motor connector F-06 for loose, corroded or damaged terminals, or terminals pushed back in the connector.
Q: Are rear wiper motor connector F-06 in good condition?
YES: Go to Step 3.
NO: Repair or replace the damaged component(s). If the rear wiper operates normally, a correct auto-stop signal is sent from the rear wiper motor.
STEP 3. Check the rear wiper motor.
1. Disconnect rear wiper motor connector F-06.
2. Connect the rear wiper motor connector terminal number 1 to the ground.
3. Check to see that the rear wiper motor run, when connecting the positive battery terminal to rear wiper motor connector terminal number 3.
4. Disconnect the positive battery terminal to rear wiper motor connector terminal number 3, when the rear wiper motor running.
5. Check to see that the rear wiper motor stops.
6. Connect the rear wiper motor connector terminal number 3 to 4.
7. Connect the positive battery terminal to rear wiper motor connector terminal number 2.
8. Check to see that the rear wiper motor runs and then stops at the automatic stop position.
Q: Does the rear wiper motor operate normally?
YES: Go to Step 4.
NO: Replace the rear wiper motor. If the rear wiper operates normally, a correct auto-stop signal is sent from the rear wiper motor.
STEP 4. Check the ignition switch (ACC) line of the power supply circuit to the rear wiper motor. Measure the voltage at rear wiper motor connector F-06.
1. Disconnect rear wiper motor connector F-06 and measure the voltage available at the harness side of the connector.
2. Turn the ignition switch to the "ACC" position.
3. Measure the voltage between terminal 2 and ground.
- The voltage should measure approximately 12 volts (battery positive voltage).
Q: Is the measured voltage approximately 12 volts (battery positive voltage)?
YES: Go to Step 6.
NO: Go to Step 5.
STEP 5. Check the wiring harness between rear wiper motor connector F-06 (terminal 2) and the ignition switch (ACC).
- Check the power supply line for open circuit and short circuit.
NOTE: Also check intermediate connector F-02, junction block connectors C-204 and C-215 for loose, corroded, or damaged terminals, or terminals pushed back in the connector. If intermediate connector F-02, junction block connector C-204 or C-215 are damaged.
Q: Is the wiring harness between rear wiper motor connector F-06 (terminal 2) and ignition switch (ACC) in good condition?
YES: Go to Step 6.
NO: The wiring harness may be damaged or the connector(s) may have loose, corroded or damaged terminals, or terminals pushed back in the connector. Repair the wiring harness as necessary. If the equipment described in "CIRCUIT OPERATION" works normally, the input signal from the ignition switch (ACC) should be normal.
STEP 6. Check ETACS-ECU connector C-219 for loose, corroded or damaged terminals, or terminals pushed back in the connector.
Q: Is ETACS-ECU connector C-219 in good condition?
YES: Go to Step 7.
NO: Repair or replace the damaged component(s). If the rear wiper operates normally, a correct auto-stop signal is sent from the rear wiper motor.
STEP 7. Check the wiring harness between rear wiper motor connector F-06 (terminal 4) and ETACS-ECU connector C-219 (terminal 17).
- Check the communication lines for open circuit and short circuit.
NOTE: Also check intermediate connector F-02 and junction block connector C-204 for loose, corroded, or damaged terminals, or terminals pushed back in the connector. If intermediate connector F-02 or junction block connector C-204 are damaged.
Q: Is the wiring harness between rear wiper motor connector F-06 (terminal 4) and ETACS-ECU connector C-219 (terminal 17) in good condition?
YES: Replace the ETACS-ECU. When the ETACS-ECU is replaced, register the encrypted code. If the rear wiper operates normally, a correct auto-stop signal is sent from the rear wiper motor.
NO: The wiring harness may be damaged or the connector(s) may have loose, corroded or damaged terminals, or terminals pushed back in the connector. Repair the wiring harness as necessary. If the rear wiper operates normally, a correct auto-stop signal is sent from the rear wiper motor.