Operation CHARM: Car repair manuals for everyone.
Manuals through 2025 now available!

Our trusted friends have launched a new website named LEMON, which has newer manuals. It also contains all the CHARM manuals.

LEMON is the spiritual successor to CHARM, I recommend you try it!

Link: lemon-manuals.la or lemon-manuals.org.ua

(Some people have issue connecting. LEMON is investigating. For now, use Firefox or change your DNS server)

Or, hide this message: temporarily or permanently

Timing Belt: Testing and Inspection




INSPECTION

AUTO-TENSIONER CHECK

1. Check for oil leak from seal, and replace it if leak is detected.

2. Check for wear or damage at the top of the rod. Replace it, if required.





3. While holding the auto-tensioner with your hand, press the end of the pushrod against a metal surface (such as the cylinder block) with a force of 98 - 196 N (22 - 44 pounds) and measure how far the pushrod is pushed in.
Standard value: Within 1 mm (0.04 inch)

A: Length when no force is applied
B: Length when force is applied
A - B: Movement in
4. If the measured value is out of the standard value, replace the auto-tensioner.

AIR BLEEDING PROCEDURE OF AUTO-TENSIONER

[In case that the amount of rod protrusion is 1 mm with the set pin inserted.]

When the auto tensioner is not kept with its rod upward, or when the set pin having dia. 2 mm (0.08 inch) is pulled out before the installation to the engine, carry out the air bleeding as follows.





1.
CAUTION:

- If the lateral type press is used, the appropriate air bleeding is not carried out. Always use longitudinal type press.
- To prevent damage to the auto tensioner, do not apply the load of 5,000N (1,124 lb) or more.
- To prevent damage to the auto tensioner, do not press the rod below the cylinder end plane.

Set the auto tensioner to the longitudinal type press as shown in the illustration.
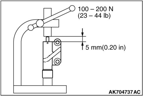
2. Slowly press down the rod, two or three times, to the cylinder end plane.
3. When the rod protrusion has approximately 5 mm (0.20 inch), apply the load of 100 - 200N
(23 - 44 lb). Check whether the auto tensioner has sufficient stiffness.
4. If the auto tensioner does not have sufficient stiffness, replace the auto tensioner.
5.
CAUTION:
To prevent the air from being incorporated, keep the auto tensioner with its rod upward after the air bleeding.

Slowly pressing down the rod, insert the set pin having dia. 2mm (0.08 inch) through the hole to fix the auto tensioner.