Operation CHARM: Car repair manuals for everyone.
Manuals through 2025 now available!

Our trusted friends have launched a new website named LEMON, which has newer manuals. It also contains all the CHARM manuals.

LEMON is the spiritual successor to CHARM, I recommend you try it!

Link: lemon-manuals.la or lemon-manuals.org.ua

(Some people have issue connecting. LEMON is investigating. For now, use Firefox or change your DNS server)

Or, hide this message: temporarily or permanently

Inspection Procedure E-2




INSPECTION PROCEDURE E-2: Keyless Entry System: The dome light, the turn-signal lights and the horn do not operate through the answer back function.


























CIRCUIT OPERATION

The ETACS-ECU operates the following functions when it receives lock or unlock signal from the transmitter:

- Dome light answer back function
- Turn-signal light answer back function
- Horn answer back function

TECHNICAL DESCRIPTION (COMMENT)

The turn-signal lights and horn answer back functions can be disabled or enabled. However, the dome light answer back function cannot be disabled.

TROUBLESHOOTING HINTS

- The turn-signal light may be defective
- The dome light may be defective
- The horn may be defective
- The ETACS-ECU may be defective
- The wiring harness or connectors may have loose, corroded, or damaged terminals, or terminals pushed back in the connector

DIAGNOSIS

Required Special Tools:

- MB991223: Harness Set
- MB992006: Extra Fine Probe
- MB991958: Scan Tool (M.U.T.-III Sub Assembly)
- MB991824: V.C.I.
- MB991827: M.U.T.-III USB Cable
- MB991910: M.U.T.-III Main Harness A

STEP 1. Verify the keyless entry system.

Q. Does the keyless entry system work normally?

YES Go to Step 2.
NO Refer to Inspection Procedure E-1 "Keyless entry system does not operate Inspection Procedure E-1."
STEP 2. Check the customization function.

Q. Has the answer back function been enabled by means of the adjustment function?

YES Go to Step 3.
NO Enable the answer back function by means of the adjustment function. Verify that the answer back functions work normally.
STEP 3. Verify trouble symptom.

Q. Which answer back function is defective?

Only the dome light : Go to Step 4.
Only the turn-signal lights : Go to Step 5.
Only the horn : Go to Step 6.
Dome light, turn-signal lights and horn : Replace the ETACS-ECU. When the ETACS-ECU is replaced, register the encrypted code. Encrypted Code Registration Criteria Table. Verify that the answer back functions work normally.
STEP 4. Verify the dome light.

Q. Does the dome light illuminate normally?

YES Replace the ETACS-ECU. When the ETACS-ECU is replaced, register the encrypted code. Encrypted Code Registration Criteria Table.
Verify that the answer back functions work normally.
NO Refer to Inspection Procedure L-1 "The dome light does not illuminate and go out normally Inspection Procedure L-1."
STEP 5. Verify the hazard warning light.

Q. Does the hazard warning light work normally?

YES Replace the ETACS-ECU. When the ETACS-ECU is replaced, register the encrypted code. Encrypted Code Registration Criteria Table.
Verify that the answer back functions work normally.
NO Refer to Inspection Procedure J-2 "Hazard warning lights do not flash when the hazard warning light switch is turned on Inspection Procedure J-2."
STEP 6. Verify which horn is defective.

Q. Which horn does not sound?

Horn (HIGH) : Go to Step 7.
Horn (LOW) : Go to Step 11.
Both horns : Go to Step 16.
STEP 7. Check horn (HIGH) connector A-19 for loose, corroded or damaged terminals, or terminals pushed back in the connector.





Q. Is horn (HIGH) connector A-19 in good condition?

YES Go to Step 8.

NO Repair or replace the damaged component(s). Harness Connector Inspection. Verify that the horn sounds normally.

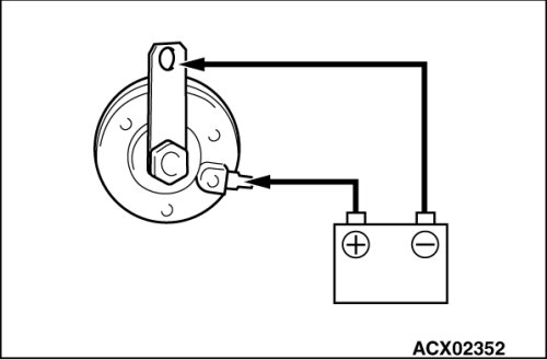
STEP 8. Check the horn (HIGH).





Connect the battery as shown, and verify that the horn (HIGH) sounds.

Q. Is the horn (HIGH) normal?

YES Go to Step 9.

NO Replace the horn (HIGH). Verify that the horn sounds normally.

STEP 9. Check horn relay connector A-06X for loose, corroded or damaged terminals, or terminals pushed back in the connector.





Q. Is horn relay connector A-06X in good condition?

YES Go to Step 10.

NO Repair or replace the damaged component(s). Harness Connector Inspection. Verify that the horn sounds normally.

STEP 10. Check the wiring harness between horn relay connector A-06X
(terminal 4) and horn (HIGH) connector A-19 (terminal 1).


- Check the communication lines for open circuit.









Q. Is the wiring harness between horn relay connector A-10X (terminal 4) and horn (HIGH) connector A-19 (terminal 1) in good condition?

YES Go to Step 15.

NO The wiring harness may be damaged or the connector(s) may have loose, corroded or damaged terminals, or terminals pushed back in the connector. Repair the wiring harness as necessary. Verify that the horn sounds normally.

STEP 11. Check horn (LOW) connector A-01 for loose, corroded or damaged terminals, or terminals pushed back in the connector.





Q. Is horn (LOW) connector A-01 in good condition?

YES Go to Step 12.

NO Repair or replace the damaged component(s). Harness Connector Inspection. Verify that the horn sounds normally.

STEP 12. Check the horn (LOW).





Connect the battery as shown, and verify that the horn (LOW) sounds.

Q. Is the horn (LOW) normal?

YES Go to Step 13.

NO Replace the horn (LOW). Verify that the horn sounds normally.

STEP 13. Check horn relay connector A-06X for loose, corroded or damaged terminals, or terminals pushed back in the connector.





Q. Is horn relay connector A-06X in good condition?

YES Go to Step 14.

NO Repair or replace the damaged component(s). Harness Connector Inspection. Verify that the horn sounds normally.

STEP 14. Check the wiring harness between horn relay connector A-06X
(terminal 4) and horn (LOW) connector A-01 (terminal 1).


- Check the communication lines for open circuit.









Q. Is the wiring harness between horn relay connector A-06X (terminal 4) and horn (LOW) connector A-01 (terminal 1) in good condition?

YES Go to Step 15.

NO The wiring harness may be damaged or the connector(s) may have loose, corroded or damaged terminals, or terminals pushed back in the connector. Repair the wiring harness as necessary. Verify that the horn sounds normally.

STEP 15. Check the horn installation.

When the theft-alarm system is triggered, check the installation of the horn (HIGH or LOW) which does not sound.

NOTE:
The horn should be grounded to the vehicle body via its mounting bolt.

Q. Is the horn installed correctly.

YES No action is necessary and testing is complete.
NO Install the horn correctly. Verify that the horn sounds normally.
STEP 16. Check horn relay connector A-06X for loose, corroded or damaged terminals, or terminals pushed back in the connector.





Q. Is horn relay connector A-06X in good condition?

YES Go to Step 17.

NO Repair or replace the damaged component(s). Harness Connector Inspection. Verify that the horn sounds normally.

STEP 17. Check the horn relay.









Q. Is the horn relay normal?

YES Go to Step 18.

NO Replace the horn relay. Verify that the horn sounds normally.

STEP 18. Check the battery power supply circuit to the horn relay.
Measure the voltage at horn relay connector A-06X.






(1)Disconnect horn relay connector A-06X and measure the voltage available at the relay box side of the connector.





(2)Measure the voltage between terminal 1 and ground, and also between terminal 2 and ground.

- The voltage should measure approximately 12 volts (battery positive voltage).

Q. Is the measured voltage approximately 12 volts (battery positive voltage)?

YES Go to Step 20.

NO Go to Step 19.

STEP 19. Check the wiring harness between horn relay connector A-06X
(terminals 1 and 2) and the battery.


- Check the power supply line (battery supply) for open circuit and short circuit.





Q. Is the wiring harness between horn relay connector A-06X (terminals 1 and 2) and the battery in good condition?

YES No action is necessary and testing is complete.

NO The wiring harness may be damaged or the connector(s) may have loose, corroded or damaged terminals, or terminals pushed back in the connector. Repair the wiring harness as necessary. Verify that the horn sounds normally.

STEP 20. Check ETACS-ECU connector C-217 for loose, corroded or damaged terminals, or terminals pushed back in the connector.





Q. Is ETACS-ECU connector C-217 in good condition?

YES Go to Step 21.

NO Repair or replace the damaged component(s). Harness Connector Inspection. Verify that the horn sounds normally.

STEP 21. Check the wiring harness between horn relay connector A-06X
(terminal 3) and ETACS-ECU connector C-217 (terminal 44).










- Check the communication lines for open circuit and short circuit.





NOTE:
Also check intermediate connector C-31 and joint connector C-104 for loose, corroded, or damaged terminals, or terminals pushed back in the connector. If intermediate connector C-31 or joint connector C-104 are damaged, repair or replace the damaged component(s) as described in Harness Connector Inspection Harness Connector Inspection.

Q. Is the wiring harness between horn relay connector A-06X (terminal 3) and ETACS-ECU connector C-217 (terminal 44) in good condition?

YES Go to Step 22.

NO The wiring harness may be damaged or the connector(s) may have loose, corroded or damaged terminals, or terminals pushed back in the connector. Repair the wiring harness as necessary. Verify that the horn sounds normally.

STEP 22. Check the wiring harness between horn relay connector A-06X
(terminal 4) and horn (LOW) connector A-01 (terminal 1) or horn (HIGH) connector A-19 (terminal 1).














- Check the communication lines for short circuit.

Q. Is the wiring harness between horn relay connector A-06X (terminal 4) and horn (LOW) connector A-01 (terminal 1) or horn (HIGH) connector A-19 (terminal 1) in good condition?

YES Replace the ETACS-ECU. When the ETACS-ECU is replaced, register the encrypted code. Encrypted Code Registration Criteria Table.
Verify that the horn sounds normally.

NO The wiring harness may be damaged or the connector(s) may have loose, corroded or damaged terminals, or terminals pushed back in the connector. Repair the wiring harness as necessary. Verify that the horn sounds normally.