Operation CHARM: Car repair manuals for everyone.
Manuals through 2025 now available!

Our trusted friends have launched a new website named LEMON, which has newer manuals. It also contains all the CHARM manuals.

LEMON is the spiritual successor to CHARM, I recommend you try it!

Link: lemon-manuals.la or lemon-manuals.org.ua

(Some people have issue connecting. LEMON is investigating. For now, use Firefox or change your DNS server)

Or, hide this message: temporarily or permanently

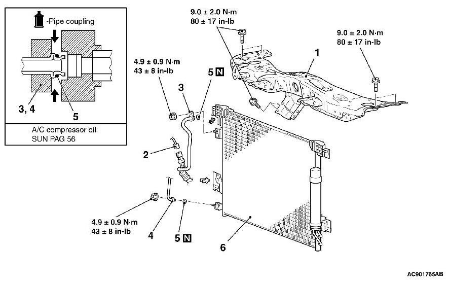
Condenser HVAC: Service and Repair




REMOVAL AND INSTALLATION













REMOVAL SERVICE POINTS

[[A]]
FLEXIBLE SUCTION HOSE AND LIQUID PIPE A DISCONNECTION


CAUTION:
As the compressor oil and receiver are highly moisture absorbent, use a non-porous material to plug the hose and nipples.

To prevent the entry of dust or other foreign bodies, plug the dismantled hose and condenser assembly nipples.

[[B]]
CONDENSER ASSEMBLY DISCONNECTION






1. Lift the condenser while pressing the claw B.
2. Lift the condenser while pressing the claw A and remove it.