Operation CHARM: Car repair manuals for everyone.
Manuals through 2025 now available!

Our trusted friends have launched a new website named LEMON, which has newer manuals. It also contains all the CHARM manuals.

LEMON is the spiritual successor to CHARM, I recommend you try it!

Link: lemon-manuals.la or lemon-manuals.org.ua

(Some people have issue connecting. LEMON is investigating. For now, use Firefox or change your DNS server)

Or, hide this message: temporarily or permanently

Coolant Temperature Sensor/Switch (For Computer): Testing and Inspection




ENGINE COOLANT TEMPERATURE SENSOR CHECK

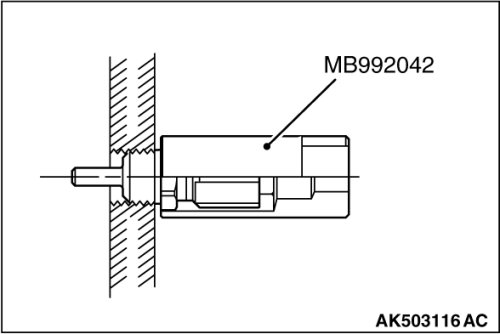
Required Special Tool:

- MB992042: Engine coolant temperature sensor wrench

CAUTION:
Be careful not to touch the connector (resin section) with the tool when removing and installing.





1. Drain engine coolant, then remove the engine coolant temperature sensor using the special tool MB992042 (engine coolant temperature sensor wrench).





2. With the temperature sensing portion of engine coolant temperature sensor immersed in hot water, check the resistance.
Standard value:

14 - 17 kohms [at -20°C (-4°F)]
5.1 - 6.5 kohms [at 0°C (32°F)]
2.1 - 2.7 kohms [at 20°C (68°F)]
0.9 - 1.3 kohms [at 40°C (104°F)]
0.48 - 0.68 kohms [at 60°C (140°F)]
0.26 - 0.36 kohms [at 80°C (176°F)]
3. If the resistance deviates from the standard value greatly, replace the sensor.





4. Apply LOCTITE 262, Three bond 1324N or equivalent to threaded portion.
5. With the special tool MB992042 (engine coolant temperature sensor wrench) tighten the engine coolant temperature sensor to the specified torque.
Tightening torque: 30± 9Nm (22± 6 ft-lb)