Operation CHARM: Car repair manuals for everyone.
Manuals through 2025 now available!

Our trusted friends have launched a new website named LEMON, which has newer manuals. It also contains all the CHARM manuals.

LEMON is the spiritual successor to CHARM, I recommend you try it!

Link: lemon-manuals.la or lemon-manuals.org.ua

(Some people have issue connecting. LEMON is investigating. For now, use Firefox or change your DNS server)

Or, hide this message: temporarily or permanently

Coolant Temperature Sensor/Switch (For Computer): Service and Repair




REMOVAL AND INSTALLATION









INSTALLATION SERVICE POINTS

]]A[[ ENGINE OIL CONTROL VALVE HOUSING INSTALLATION

CAUTION:

- Oil passage shall be free from foreign matters.
- Shall confirm fully that matching plane and such are free from foreign matters.





1. Install the engine oil control valve housing gasket and oil seal case gasket so that the protuberant is positioned as shown in the illustration.
2. Tighten the engine oil control valve housing and oil seal case to the specified torque.
Tightening torque: 24± 3Nm (18± 1 ft-lb)


]]B[[ ENGINE OIL PRESSURE SWITCH INSTALLATION





1. Apply sealant (Three bond 1212D, Three bond 1215 or equivalent) to the threads of the engine oil pressure switch.
2. Install the engine oil pressure switch to the oil control valve housing.

]]C[[ ENGINE OIL CONTROL VALVE INSTALLATION





CAUTION:

- Never re-use the O-ring.
- Before installing O-ring, wind sealing tape around the oil passages cut-out area of engine oil control valve, to prevent damage. If the O-ring is damaged, it can cause an oil leak.

1. Apply a small amount of engine oil to the O-ring and then install it to the engine oil control valve.
2. Install the engine oil control valve to the cylinder head.
3. Tighten the engine oil control valve.
Tightening torque: 11± 1Nm (98± 8 in-lb)


]]D[[ WATER PIPE / O-RING INSTALLATION





CAUTION:
Keep the O-ring free of oil or grease.

1. Wet the O-ring (with water) to ease assembly.
2. Install the water pipe into the thermostat housing.

]]E[[ THERMOSTAT HOUSING GASKET INSTALLATION





Install the thermostat housing gasket so that the tab is positioned as shown in the illustration.

]]F[[ THERMOSTAT INSTALLATION





Install the thermostat in the thermostat housing with its jiggle valve located at the top position.

]]G[[ OIL PIPE INSTALLATION





1. Temporarily tighten the eye bolts on the both ends of the oil pipe.
2. Temporarily tighten the flange bolt on the clamp.
3. Tighten the eye bolts on the both ends of the oil pipe to the specified torque.
4. Tighten the flange bolt on the clamp to the specified torque.

]]H[[ EXHAUST GAS RECIRCULATION VALVE GASKET INSTALLATION





Install the exhaust gas recirculation valve gasket so that the tab is positioned as shown in the illustration.

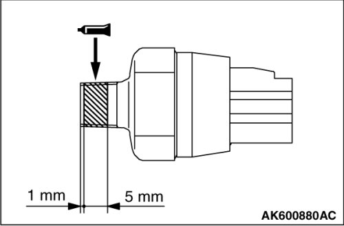
]]I[[ ENGINE COOLANT TEMPERATURE SENSOR INSTALLATION





Apply sealant (Three bond 1324N, LOCTITE 262 or equivalent) to the engine coolant temperature sensor.